专利状态
一种火腿肠生产用混料装置
专利申请进度
申请
2021-07-27
授权
2022-03-25
预估到期
2031-07-27
专利基础信息
申请号 申请日
授权公布号 授权公告日
分类号
分类
申请人名称 福建省力诚食品有限公司
申请人地址
专利法律状态
  • 2022-03-25
    授权
    状态信息
    授权
摘要
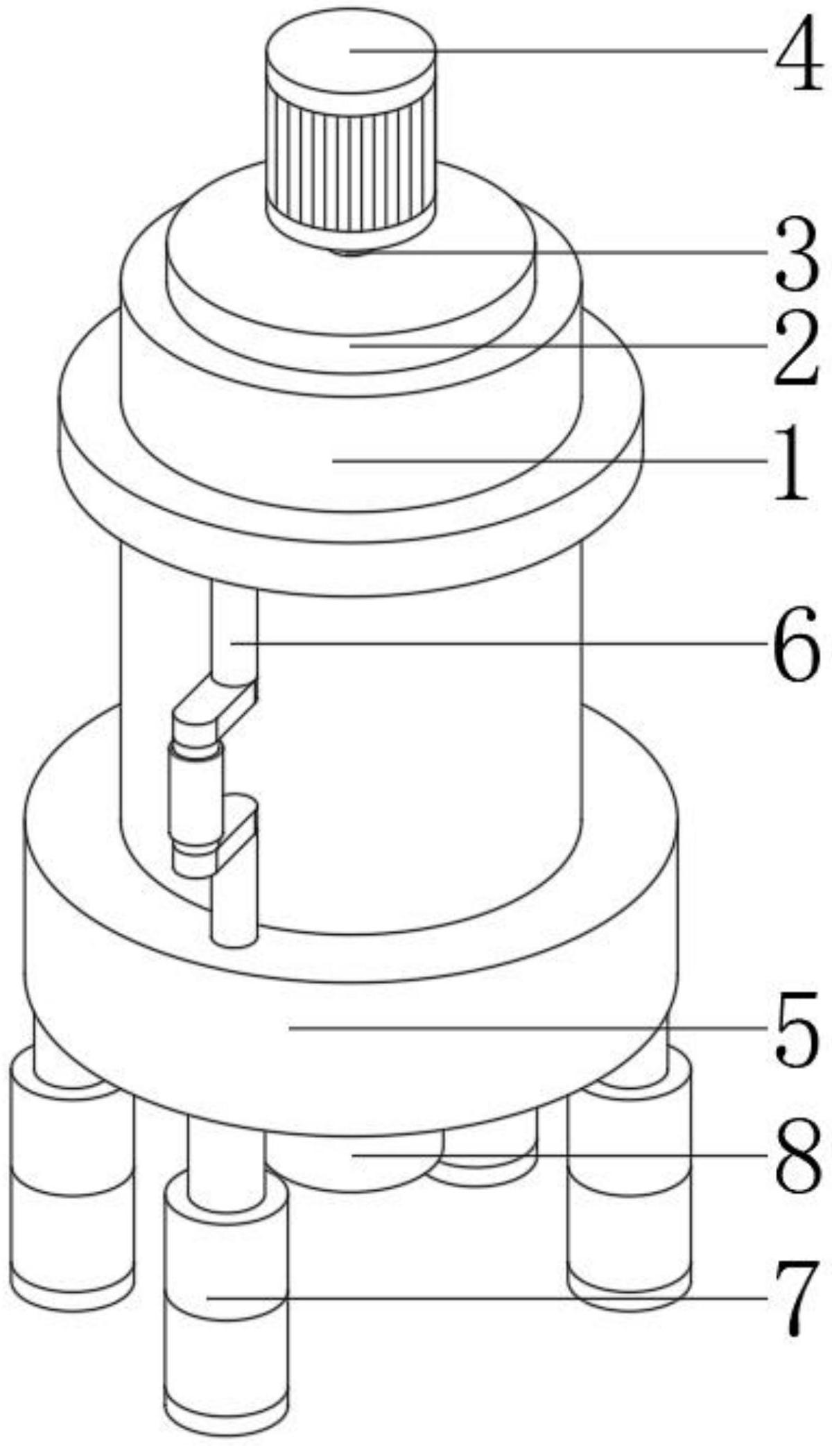
本实用新型公开了一种火腿肠生产用混料装置,包括混料装置主体,还设置有混料盖、搅拌杆、驱动电机、混料底座、便携机构、支撑机构与出料口,其中便携机构由固定圆环、混料盖、连接块、二号连接柱与防滑套组成。本实用新型所述的一种火腿肠生产用混料装置,通过设置的两组二号连接柱与两组防滑套方便将混料装置主体提起进行搬运,且设置的防滑套避免出汗手滑,通过设置的减震柱与减震弹簧降低混料装置主体运行时产生的震动,降低震动对混料装置主体造成的影响,再通过设置的耐磨损圆块避免支撑机构的底部容易磨损,从而提升混料装置主体的稳定性,为火腿肠混料技术领域带来了更好的使用前景。

返回首页 | 品牌大全 | 品牌排行 | 品牌问答 | 品牌资讯 | 品牌价值 | 关于我们 | 联系我们 | 免责声明

Copyright 2013-2020 品牌门户,牌子123(www.paizi123.cn) 版权所有 备案号:苏ICP备13009020号-7

网站地图