专利状态
一种火腿震荡筛选机
专利申请进度
申请
2021-08-06
授权
2022-03-25
预估到期
2031-08-06
专利基础信息
申请号 申请日
授权公布号 授权公告日
分类号
分类
申请人名称 福建省力诚食品有限公司
申请人地址
专利法律状态
  • 2022-03-25
    授权
    状态信息
    授权
摘要
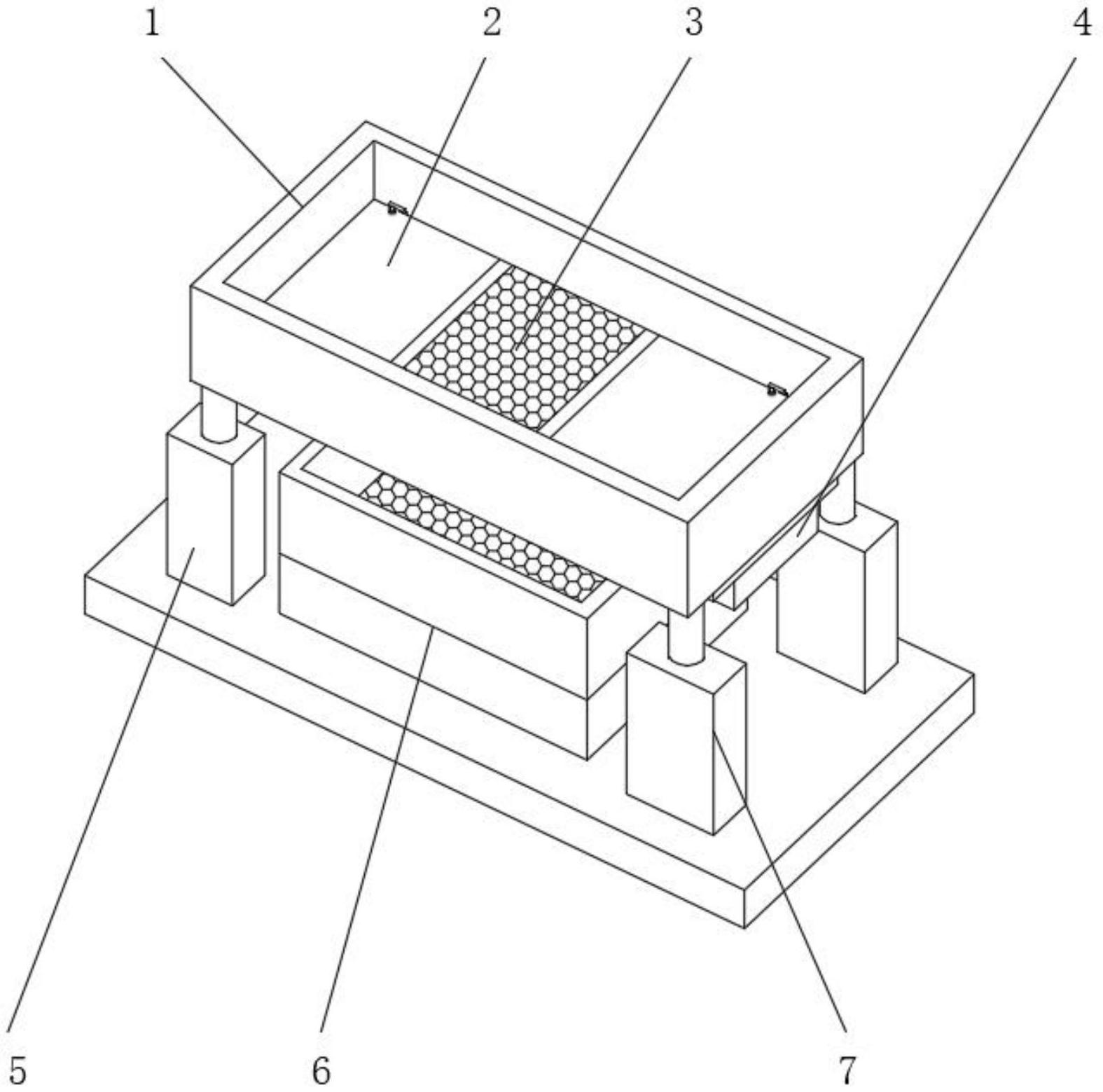
本实用新型公开了一种火腿震荡筛选机,包括筛选机主体,所述筛选机主体的一侧内表面设置有安装机构,所述安装机构的一侧外表面设置有第一筛选网,所述筛选机主体的下端外表面设置有振动电机与缓冲支撑柱,且缓冲支撑柱位于振动电机的一侧,所述第一筛选网的下端设置有收集机构,所述收集机构的下端外表面设置有底板。本实用新型所述的一种火腿震荡筛选机,通过设置的安装机构,可以更方便人们安装第一筛选网,方便后期拆卸与维修,有效的提高了人们的便捷性,不用费时费力的安装,通过设置的收集机构,可以更方便人们处理和收集残次品,有效的提高了装置的实用性,带来更好的使用前景。

返回首页 | 品牌大全 | 品牌排行 | 品牌问答 | 品牌资讯 | 品牌价值 | 关于我们 | 联系我们 | 免责声明

Copyright 2013-2020 品牌门户,牌子123(www.paizi123.cn) 版权所有 备案号:苏ICP备13009020号-7

网站地图