专利状态
一种生产蟹肉棒用的烘烤装置
专利申请进度
申请
2022-12-26
授权
2023-05-26
预估到期
2032-12-26
专利基础信息
申请号 申请日
授权公布号 授权公告日
分类号
分类
申请人名称 福建省力诚食品有限公司
申请人地址
专利法律状态
  • 2023-05-26
    授权
    状态信息
    授权
摘要
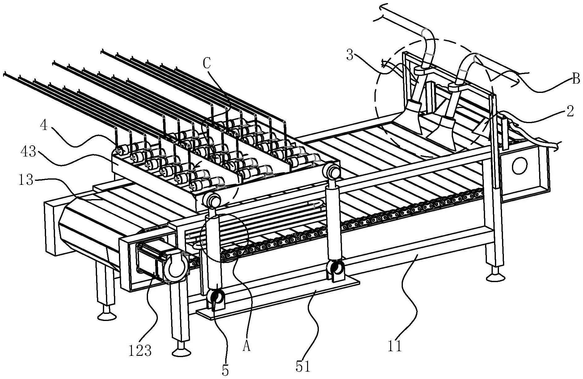
本申请涉及蟹肉棒加工技术领域,提供了一种生产蟹肉棒用的烘烤装置,包括输送机构以及沿输送机构输送方向依次安装的淋油机构、加料机构以及烘干机构,淋油机构包括淋油组件和导油件,输送机构安装有第一安装架,淋油组件与导油件均安装于第一安装架;淋油组件与导油件相连接,导油件位于输送机构上方。本申请的一种生产蟹肉棒用的烘烤装置,通过淋油组件将油导到导油件上,再由导油件对输送机构表面进行淋油,使得输送机构保持润滑状态,从而使加料机构将鱼糜挤压至输送机构表面时,能够减少鱼糜片粘在输送设备的情况;进而便于鱼糜片通过烘干机构烘干后便于取下输送机构,提高工作效率。

返回首页 | 品牌大全 | 品牌排行 | 品牌问答 | 品牌资讯 | 品牌价值 | 关于我们 | 联系我们 | 免责声明

Copyright 2013-2020 品牌门户,牌子123(www.paizi123.cn) 版权所有 备案号:苏ICP备13009020号-7

网站地图