专利状态
用于肉制品检测的脂肪检测装置
专利申请进度
申请
2022-12-21
授权
2023-06-13
预估到期
2032-12-21
专利基础信息
申请号 申请日
授权公布号 授权公告日
分类号
分类
申请人名称 福建省力诚食品有限公司
申请人地址
专利法律状态
  • 2023-06-13
    授权
    状态信息
    授权
摘要
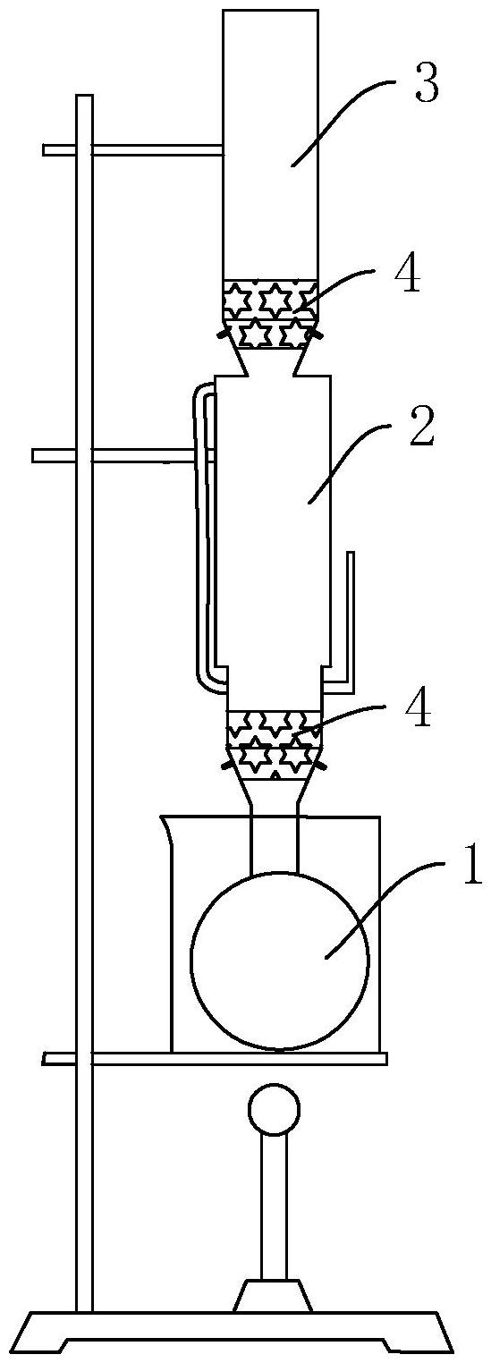
本申请公开了用于肉制品检测的脂肪检测装置,包括提取瓶、提取管和冷凝器,提取瓶、提取管和冷凝器之间相互插接,提取管设有密封套,密封套具有弹性,密封套设有两个,其中一个密封套设于提取瓶与提取管之间的连接部位,另一个密封套设于冷凝器与提取管之间的连接部位,密封套包括圆管部和锥管部,圆管部设于锥管部的大端上方,圆管部与锥管部一体设置,圆管部用于抵接冷凝器的下端周侧或提取管的下端周侧,锥管部用于抵接提取瓶的上端周侧或提取管上端周侧。本申请具有提高脂肪检测装置的密闭性,以便于保障脂肪检测装置的检测精度的效果。

返回首页 | 品牌大全 | 品牌排行 | 品牌问答 | 品牌资讯 | 品牌价值 | 关于我们 | 联系我们 | 免责声明

Copyright 2013-2020 品牌门户,牌子123(www.paizi123.cn) 版权所有 备案号:苏ICP备13009020号-7

网站地图