专利状态
一种低脂型香肠的混合装置
专利申请进度
申请
2023-01-03
授权
2023-06-06
预估到期
2033-01-03
专利基础信息
申请号 申请日
授权公布号 授权公告日
分类号
分类
申请人名称 福建省力诚食品有限公司
申请人地址
专利法律状态
  • 2023-06-06
    授权
    状态信息
    授权
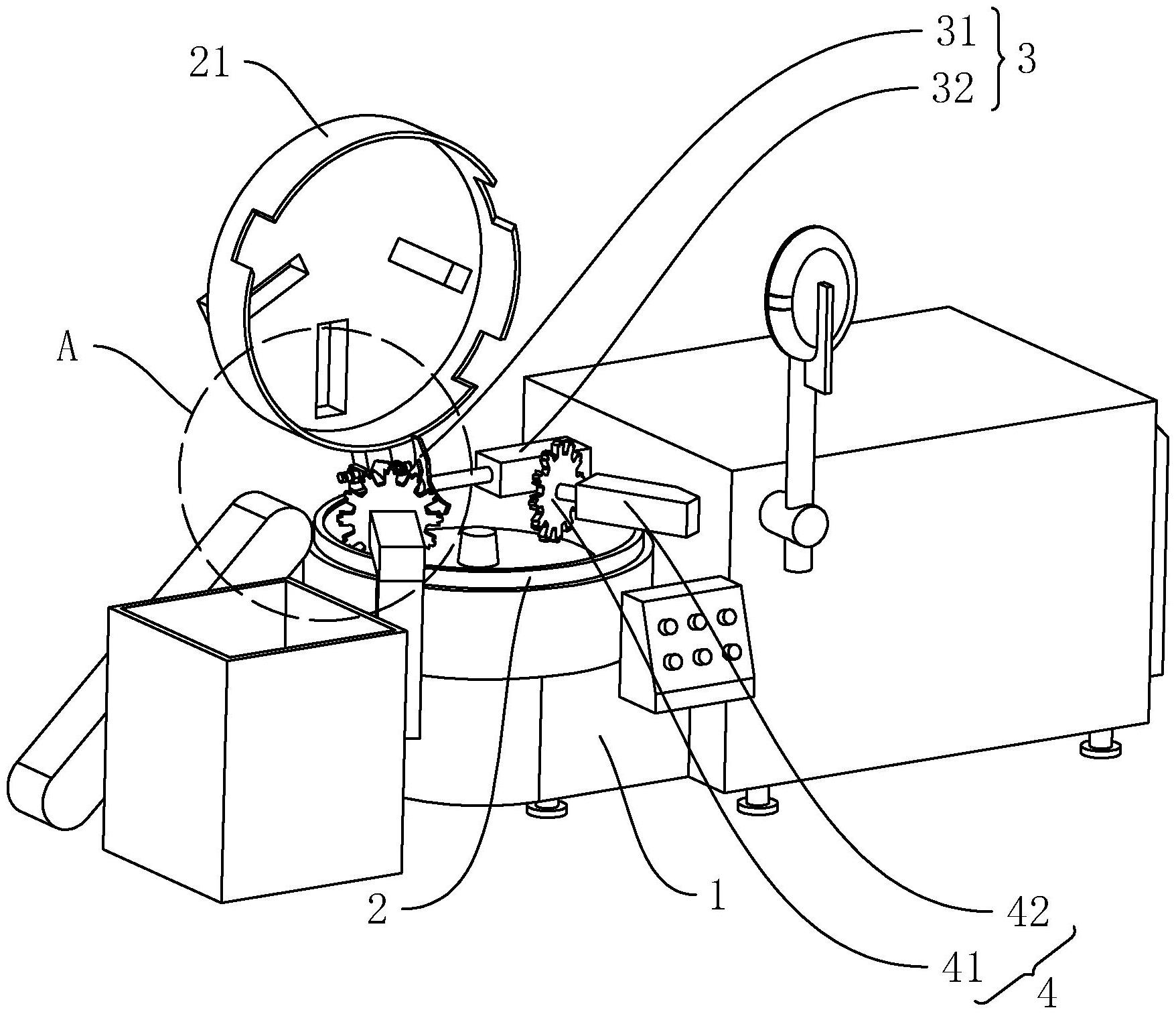
摘要
本申请公开了一种低脂型香肠的混合装置,包括架体,架体的上方设置有斩拌锅,架体设有斩拌组件,斩拌组件包括刀体和驱动件,刀体与斩拌锅的直径方向相切,刀体设于斩拌锅的内侧,刀体与驱动件连接,驱动件安装于架体上,架体还设有辅助斩拌组件,辅助斩拌组件包括辅助刀体和辅助驱动件,辅助刀体与刀体之间的延长线的夹角为锐角,辅助刀体设于斩拌锅的内侧,辅助刀体与辅助驱动件连接,辅助驱动件安装于架体上,驱动件用于驱动刀体旋转,辅助驱动件用于驱动辅助刀体旋转。本申请具有提高对猪肉的斩碎效率的效果。

返回首页 | 品牌大全 | 品牌排行 | 品牌问答 | 品牌资讯 | 品牌价值 | 关于我们 | 联系我们 | 免责声明

Copyright 2013-2020 品牌门户,牌子123(www.paizi123.cn) 版权所有 备案号:苏ICP备13009020号-7

网站地图