专利状态
一种柑果进料装置
专利申请进度
申请
2018-04-18
授权
2019-01-22
预估到期
2028-04-18
专利基础信息
申请号 申请日
授权公布号 授权公告日
分类号
分类
申请人名称 广东新宝堂生物科技有限公司
申请人地址
专利法律状态
  • 2019-01-22
    授权
    状态信息
    授权
摘要
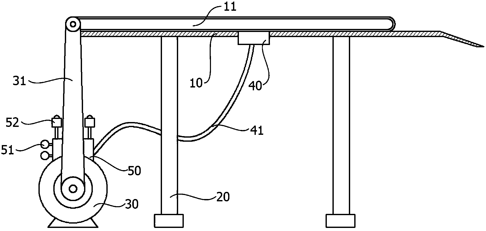
本实用新型提供一种柑果进料装置,包括固定架、支腿、电机、压力传感器和控制器,由电机驱动所述传送带运动,压力传感器固定设置在固定架上并与所述传送带相贴合,所述压力传感器用于检测由所述传送带所输送的柑果的当前重量值并将所述当前重量值发送至所述控制器,所述控制器与指示灯和蜂鸣器电连接,由所述控制器控制所述指示灯和所述蜂鸣器工作,其中,若所述控制器确定所述当前重量值大于或等于重量阈值时,既当前所输送的待加工柑果过多,则所述控制器控制所述指示灯和所述蜂鸣器工作,进而提示操作人员当前待加工柑果较多,需进行相应调整工作,以防止对后续的加工设备造成加工压力,保证柑果加工的顺利进行和加工效率。

返回首页 | 品牌大全 | 品牌排行 | 品牌问答 | 品牌资讯 | 品牌价值 | 关于我们 | 联系我们 | 免责声明

Copyright 2013-2020 品牌门户,牌子123(www.paizi123.cn) 版权所有 备案号:苏ICP备13009020号-7

网站地图