专利状态
一种柑果上料机
专利申请进度
申请
2018-04-18
授权
2019-02-05
预估到期
2028-04-18
专利基础信息
申请号 申请日
授权公布号 授权公告日
分类号
分类
申请人名称 广东新宝堂生物科技有限公司
申请人地址
专利法律状态
  • 2019-02-05
    授权
    状态信息
    授权
摘要
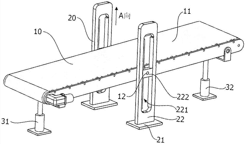
本实用新型提供一种柑果上料机,包括上料架、固定架、第一气缸和第二气缸,上料架上设置用于输送柑果的传送带,固定架包括底座和设置在底座上的两根立架,两根立架平行且间隔设置,任一立架上沿立架的高度方向设置滑道,上料架位于两根立架之间,上料架的两侧沿同一轴线分别设置有凸轴,凸轴与套设于所述滑道内的滑块铰接相连,第一气缸和第二气缸分别支撑于上料架的两端并分别调整上料架两端高度,以使所述上料架绕凸轴转动和/或沿滑道所移动,由立架上所设置的导轨可限制上料架的高度移动方向并保证上料架的运动平稳性,上料架分别在第一气缸和第二气缸的支撑下绕凸轴所转动,进而可实现对上料架所承载的传送带的俯仰和高度调节。

返回首页 | 品牌大全 | 品牌排行 | 品牌问答 | 品牌资讯 | 品牌价值 | 关于我们 | 联系我们 | 免责声明

Copyright 2013-2020 品牌门户,牌子123(www.paizi123.cn) 版权所有 备案号:苏ICP备13009020号-7

网站地图