专利状态
一种搅拌桨及其冰淇淋机
专利申请进度
申请
2022-08-01
授权
2022-12-27
预估到期
2032-08-01
专利基础信息
申请号 申请日
授权公布号 授权公告日
分类号
分类
申请人名称 佛山市活力源电子科技有限公司
申请人地址
专利法律状态
  • 2022-12-27
    授权
    状态信息
    授权
摘要
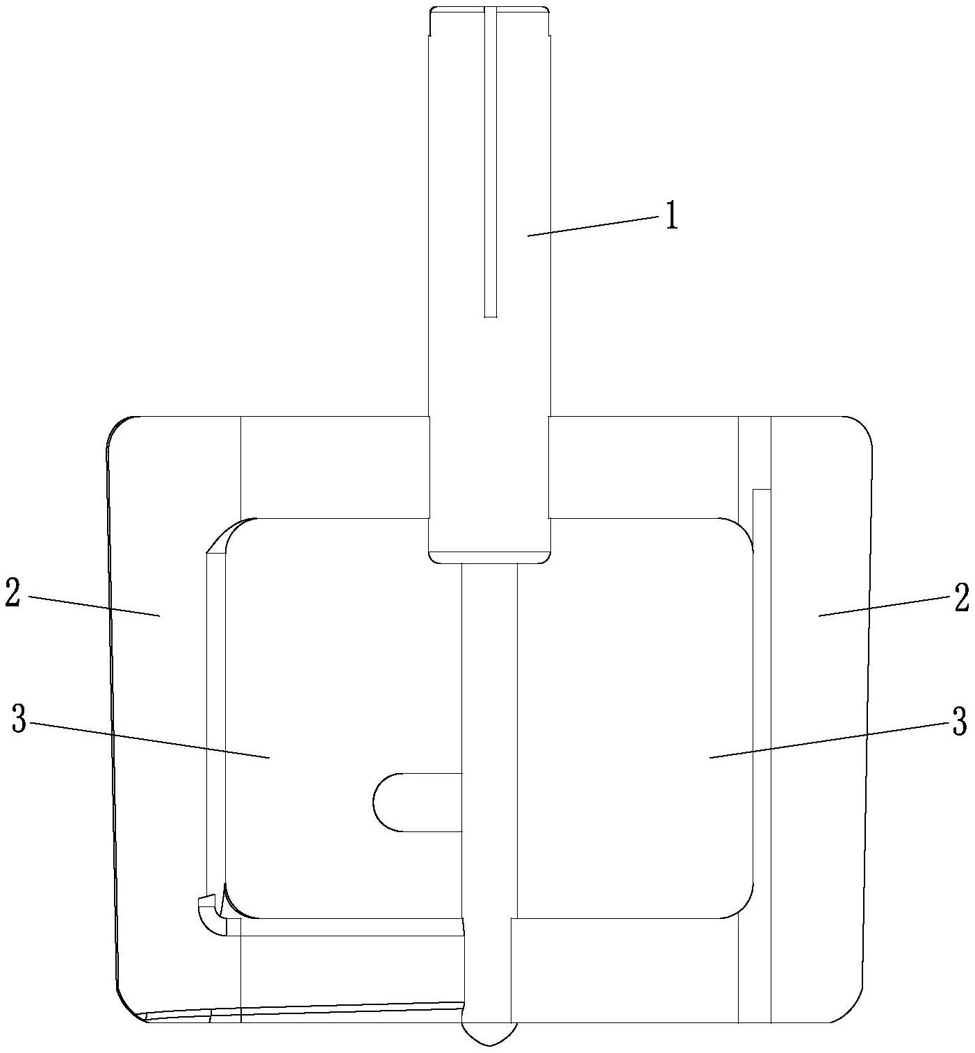
本实用新型涉及一种搅拌桨及其冰淇淋机,包括搅拌轴,所述搅拌轴上沿圆周方向等间设置有若干个搅拌叶,所述搅拌叶与搅拌轴之间设置有镂空部,所述搅拌叶包括上框板和下框板,上框板和下框板之间的外端设置有外框板,所述外框板呈弧形结构、并且其外弧面朝向搅拌桨的主搅拌方向;此款搅拌桨及其冰淇淋机可以实现快速搅拌,成型快,膨化率好,冰淇淋口味好,结构简单、生产成本低,防止成型时候冰淇淋溢出现象,容易清洗。

返回首页 | 品牌大全 | 品牌排行 | 品牌问答 | 品牌资讯 | 品牌价值 | 关于我们 | 联系我们 | 免责声明

Copyright 2013-2020 品牌门户,牌子123(www.paizi123.cn) 版权所有 备案号:苏ICP备13009020号-7

网站地图