专利状态
一种奶瓶清洗机的可调置物结构
专利申请进度
申请
2022-12-15
授权
2023-07-25
预估到期
2032-12-15
专利基础信息
申请号 申请日
授权公布号 授权公告日
分类号
分类
申请人名称 佛山市活力源电子科技有限公司
申请人地址
专利法律状态
  • 2023-07-25
    授权
    状态信息
    授权
摘要
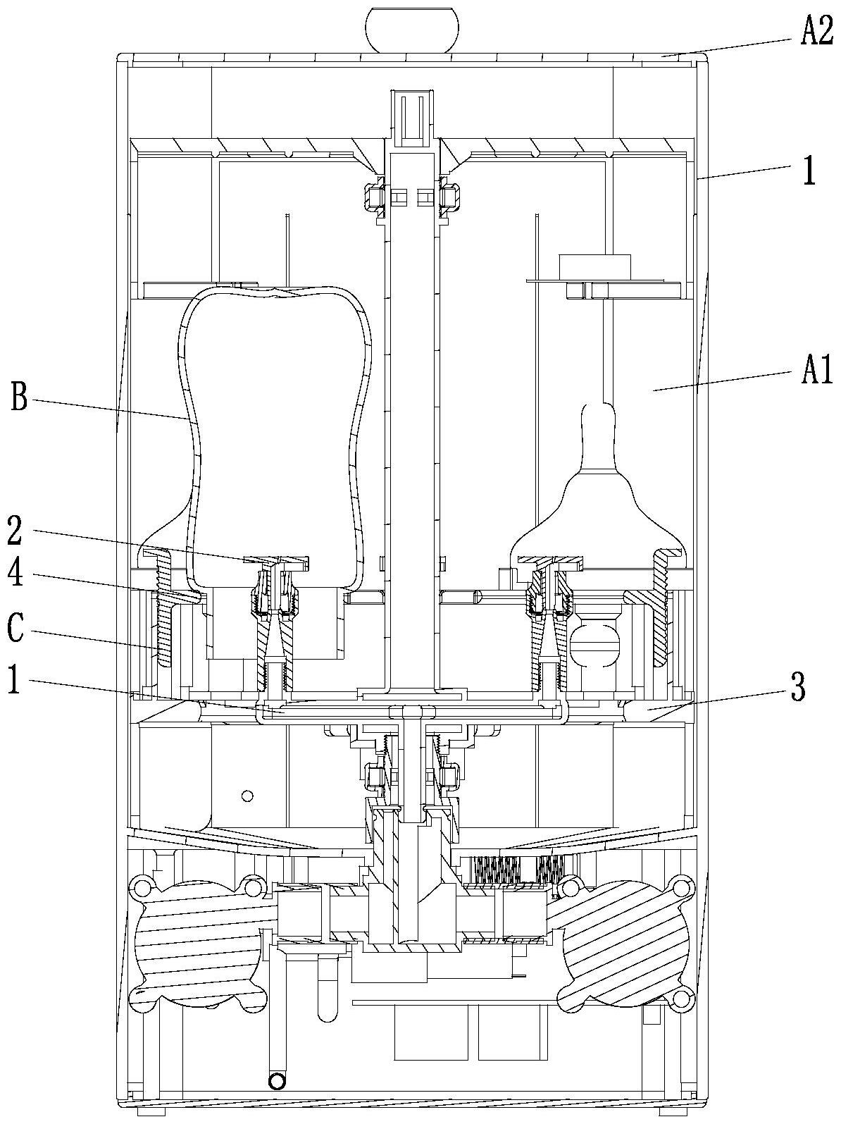
本实用新型涉及一种奶瓶清洗机的可调置物结构,包括支撑架组件和置于支撑架组件中的喷淋管路,所述喷淋管路上设置有向上喷出水流的喷水嘴,所述支撑架组件包括固定支撑架和用于定位口部向下的待清洗部件的活动定位架,所述活动定位架与喷水嘴对应设置,并且所述固定支撑架上设置有高度调节组件,高度调节组件与活动定位架的一端驱动连接,且所述的活动定位架通过高度调节组件调节与喷水嘴的相对距离;此款奶瓶清洗机中的待清洗部件能够在活动定位架的带动下上下升降,灵活地调整高度。

返回首页 | 品牌大全 | 品牌排行 | 品牌问答 | 品牌资讯 | 品牌价值 | 关于我们 | 联系我们 | 免责声明

Copyright 2013-2020 品牌门户,牌子123(www.paizi123.cn) 版权所有 备案号:苏ICP备13009020号-7

网站地图