专利状态
肉类腌制装置
专利申请进度
申请
2019-01-25
授权
2019-12-17
预估到期
2029-01-25
专利基础信息
申请号 申请日
授权公布号 授权公告日
分类号
分类
申请人名称 上海联豪食品有限公司
申请人地址
专利法律状态
  • 2019-12-17
    授权
    状态信息
    授权
摘要
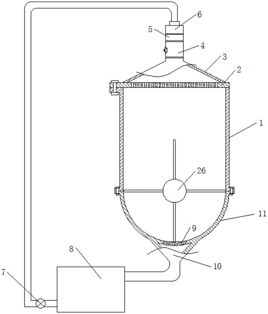
本实用新型公开了肉类腌制装置,包括上箱体,所述上箱体的侧壁上固定设有搅拌轴,所述搅拌轴的一端与所述上箱体的内壁转动连接,所述搅拌轴的另一端贯穿上箱体的侧壁并与驱动电机电连接,所述上箱体上端设有箱盖,所述箱盖上端固定有连接件A,所述箱盖位于所述连接件A之间的部分设有若干通孔,所述上箱体的下端固定设有下箱体,所述下箱体下端设有出液口,所述下箱体下端位于所述出液口内的部分设有滤网A,所述出液口远离所述下箱体的一端连接有暂储箱,所述暂储箱出水口通过管道连接有增压泵。本实用新型在腌制的过程中避免了肉类浸没在腌制料中从而造成腌制不均匀的现象,同时实现了对腌制料的回收利用,节约了成本。

返回首页 | 品牌大全 | 品牌排行 | 品牌问答 | 品牌资讯 | 品牌价值 | 关于我们 | 联系我们 | 免责声明

Copyright 2013-2020 品牌门户,牌子123(www.paizi123.cn) 版权所有 备案号:苏ICP备13009020号-7

网站地图