专利状态
一种全自动唱片机的唱杆控制机构
专利申请进度
申请
2023-01-14
授权
2023-08-01
预估到期
2033-01-14
专利基础信息
申请号 申请日
授权公布号 授权公告日
分类号
分类
申请人名称 广东理丹电子科技股份有限公司
申请人地址
专利法律状态
  • 2023-08-01
    授权
    状态信息
    授权
摘要
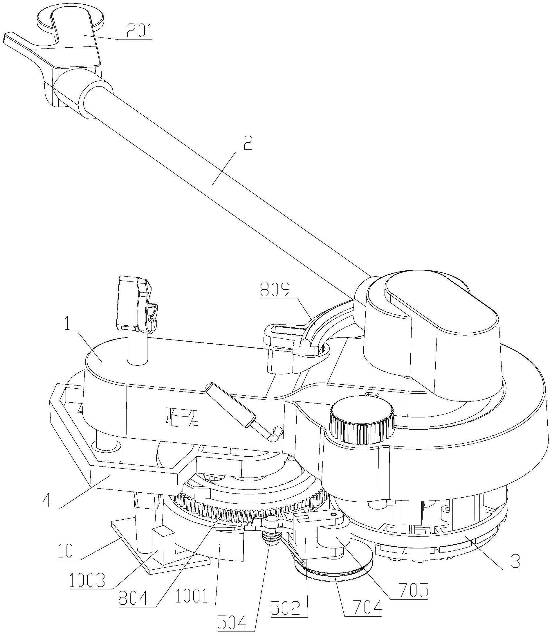
本实用新型提供了一种全自动唱片机的唱杆控制机构,其技术方案的要点是:包括有壳体,在壳体的上方设有唱杆,在唱杆的一端设有用于安装唱针的唱头,另一端可转动的设有向下延伸的转轴,在转轴的末端设有随转轴一同转动的转盘组件,在壳体的下方设有安装板,在安装板上设有用于带动唱杆转动的第一电机,以及用于带动唱杆上下起落的第二电机,在安装板上还设有可转动的安装盘,在安装板和安装盘上设有用于配合第一电机的第一传动组件,以及用于配合第二电机的第二传动组件;本实用新型能够通过电机带动唱杆进行上下起落及转动,实现唱片机的自动播放功能,解决了现有唱片机手动放置唱针容易划伤唱片的缺陷,使唱片机更加智能化。

返回首页 | 品牌大全 | 品牌排行 | 品牌问答 | 品牌资讯 | 品牌价值 | 关于我们 | 联系我们 | 免责声明

Copyright 2013-2020 品牌门户,牌子123(www.paizi123.cn) 版权所有 备案号:苏ICP备13009020号-7

网站地图