专利状态
一种3D纤维分区护脊床垫
专利申请进度
申请
2018-04-02
授权
2019-05-24
预估到期
2028-04-02
专利基础信息
申请号 申请日
授权公布号 授权公告日
分类号
分类
申请人名称 宁波梦神床垫机械有限公司
申请人地址
专利法律状态
  • 2019-05-24
    授权
    状态信息
    授权
摘要
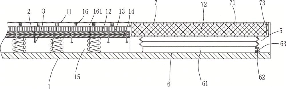
本实用新型公开了一种3D纤维分区护脊床垫,包括床垫本体,床垫本体包括面料层、3D纤维层、无纺布、代棕棉层和弹簧层,面料层与3D纤维层之间设置有气囊调节层,气囊调节层包括若干气囊,每个气囊连接有充放气管道,弹簧层侧面的面料层上设置有密封连接件,密封连接件上设有通孔,充放气管道穿过3D纤维层、无纺布和代棕棉层穿入通孔,充放气管道穿过通孔的一端设置有设置有限位凸缘,限位凸缘与密封连接件之间设置有密封圈,密封连接件上螺纹连接有限位环,限位环与密封连接件之间设置有压紧弹簧,密封连接件上位于限位环的外侧设置有第一密封盖。采用该结构能够保证床垫表面与不同的使用者的脊椎贴合。

返回首页 | 品牌大全 | 品牌排行 | 品牌问答 | 品牌资讯 | 品牌价值 | 关于我们 | 联系我们 | 免责声明

Copyright 2013-2020 品牌门户,牌子123(www.paizi123.cn) 版权所有 备案号:苏ICP备13009020号-7

网站地图