专利状态
一种植物浆料制备装置
专利申请进度
申请
2020-10-30
授权
2021-07-20
预估到期
2030-10-30
专利基础信息
申请号 申请日
授权公布号 授权公告日
分类号
分类
申请人名称 青海瑞湖生物资源开发有限公司
申请人地址
专利法律状态
  • 2021-07-20
    授权
    状态信息
    授权
摘要
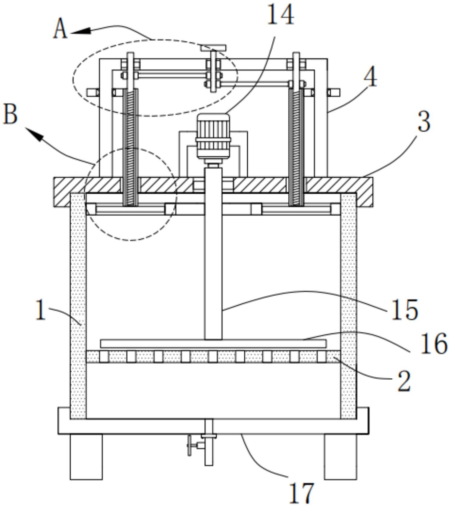
本实用新型提供一种植物浆料制备装置。所述植物浆料制备装置包括保护壳,所述保护壳的顶部与底部均为开口;过滤板,所述过滤板固定安装在所述保护壳的内壁上;盖板,所述盖板螺纹安装在所述保护壳的顶部;门型支架,所述门型支架固定安装在所述盖板的顶部;清洗机构,所述清洗机构设置在所述门型支架和所述盖板之间;下盖,所述下盖螺纹密封安装在所述保护壳的底部。本实用新型提供的植物浆料制备装置具有快速的对植物进行破碎,而且可以将溶液与固体进行分离,内壁也不易积累杂质,清理方便的优点。

返回首页 | 品牌大全 | 品牌排行 | 品牌问答 | 品牌资讯 | 品牌价值 | 关于我们 | 联系我们 | 免责声明

Copyright 2013-2020 品牌门户,牌子123(www.paizi123.cn) 版权所有 备案号:苏ICP备13009020号-7

网站地图