专利状态
一种便于定量装袋的洗衣粉生产设备
专利申请进度
申请
2020-12-30
授权
2021-10-22
预估到期
2030-12-30
专利基础信息
申请号 申请日
授权公布号 授权公告日
分类号
分类
申请人名称 台州红梦生物科技有限公司
申请人地址
专利法律状态
  • 2021-10-22
    授权
    状态信息
    授权
摘要
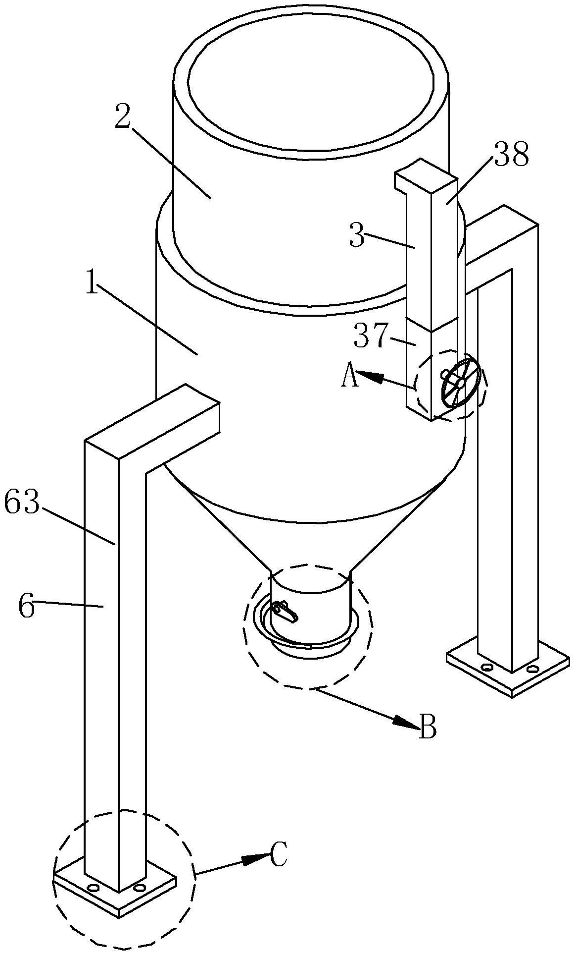
本实用新型公开了一种便于定量装袋的洗衣粉生产设备,包括第一定量桶,第二定量桶、定量结构、转轮、第一连接杆、第一齿轮、第二齿轮、第二连接杆、丝杆、第一密封箱、第二密封箱、夹袋结构、阀门和支撑结构。本实用新型的有益效果是:第二密封箱连接于第二定量桶的一侧且滑动连接于第一密封箱,进而转动转轮,转轮带动第一连接杆转动,第一连接杆带动第一齿轮转动,第一齿轮驱动第二齿轮转动,第二齿轮带动第二连接杆转动,第二连接杆带动丝杆转动,丝杆螺纹驱动第二密封箱在第一密封箱上滑动,第二密封箱带动第二定量桶在第一定量桶的内部滑动,进而实现了定量体积的改变,便于对不同体积的洗衣粉进行定量装袋,提高了定量的灵活性。

返回首页 | 品牌大全 | 品牌排行 | 品牌问答 | 品牌资讯 | 品牌价值 | 关于我们 | 联系我们 | 免责声明

Copyright 2013-2020 品牌门户,牌子123(www.paizi123.cn) 版权所有 备案号:苏ICP备13009020号-7

网站地图