专利状态
一种微耕机的前支撑装置
专利申请进度
申请
2021-01-30
授权
2021-12-07
预估到期
2031-01-30
专利基础信息
申请号 申请日
授权公布号 授权公告日
分类号
分类
申请人名称 诸暨市海道机械股份有限公司
申请人地址
专利法律状态
  • 2021-12-07
    授权
    状态信息
    授权
摘要
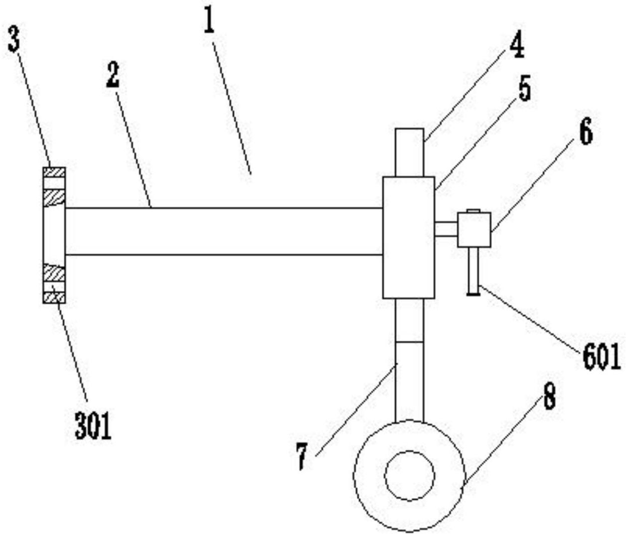
本实用新型公开了一种微耕机的前支撑装置,装置本体设延伸杆,延伸杆的一端设连接板与微耕机一前端固定安装,延伸杆的另一端设导套,内设连接孔,向下分叉的支撑脚上端设连接柱,连接柱向上伸展后装入连接孔内套接,拧紧固定螺栓把连接柱与导套轴向锁定,支撑脚的两个分叉下端内设轴承,支撑轴与两侧的轴承连接并伸出支撑脚的两个分叉外端,内设轴承的支撑滚轮分别与露出支撑脚的两个分叉外端的支撑轴连接固定,本实用新型固定安装在微耕机前端,延伸杆向前伸展,支撑滚轮与地面接触,大大提高微耕机的稳定性和操作的安全性,适合丘陵,山区,地块小,高差大,又无机耕道,而专门为果园、菜地、温室大棚、丘陵坡地和小块作业。

返回首页 | 品牌大全 | 品牌排行 | 品牌问答 | 品牌资讯 | 品牌价值 | 关于我们 | 联系我们 | 免责声明

Copyright 2013-2020 品牌门户,牌子123(www.paizi123.cn) 版权所有 备案号:苏ICP备13009020号-7

网站地图