专利状态
一种草坪机的定草机构
专利申请进度
申请
2021-02-22
授权
2021-12-03
预估到期
2031-02-22
专利基础信息
申请号 申请日
授权公布号 授权公告日
分类号
分类
申请人名称 诸暨市海道机械股份有限公司
申请人地址
专利法律状态
  • 2021-12-03
    授权
    状态信息
    授权
摘要
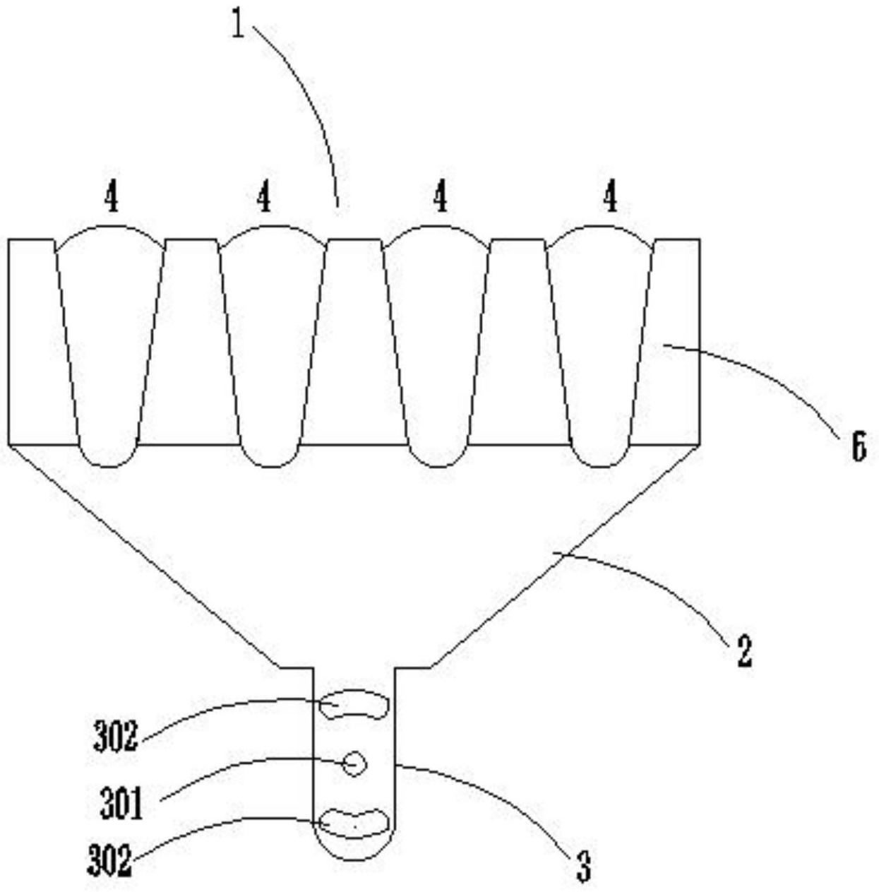
本实用新型公开了一种草坪机的定草机构,定草机构本体的主体后端中间位置设接柄,接柄设贯穿的连接孔,连接孔的前端和后端均设连接槽,主体的前端设操作区并排设若干V形的定草槽,定草槽的开口的大端朝外,底部为圆弧,本实用新型安装在草坪机前端,能把倾倒的较长的草在定草槽内小范围框定,并产生扶持力,便于旋转刀片把草打断,适合草原牧场过冬前储存草料收割。

返回首页 | 品牌大全 | 品牌排行 | 品牌问答 | 品牌资讯 | 品牌价值 | 关于我们 | 联系我们 | 免责声明

Copyright 2013-2020 品牌门户,牌子123(www.paizi123.cn) 版权所有 备案号:苏ICP备13009020号-7

网站地图