专利状态
自锁快速接头
专利申请进度
申请
2022-03-04
授权
2022-08-16
预估到期
2032-03-04
专利基础信息
申请号 申请日
授权公布号 授权公告日
分类号
分类
申请人名称 宁波杜凯软管有限公司
申请人地址
专利法律状态
  • 2022-08-16
    授权
    状态信息
    授权
摘要
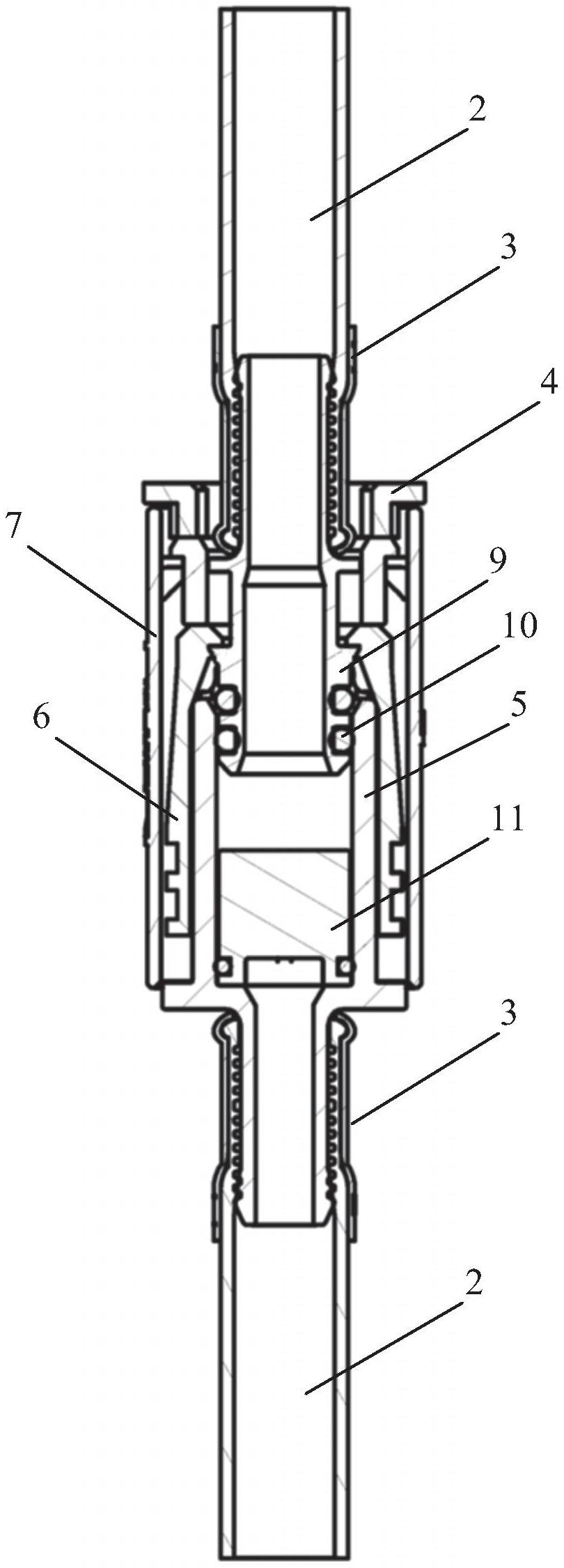
本实用新型公开了一种自锁快速接头。本实用新型的自锁快速接头包括母头和公头,公头可以沿轴线移动插入母头内。公头设有环形槽、形成卡扣结构的环形台阶和容纳槽,母头包含主体、卡爪和套筒。公头的环形槽安装密封件,用以和母头主体的内腔接触形成密封。公头的卡扣和母头的卡爪嵌合,以形成自锁。母头的套筒沿轴向移动带动母头的卡爪移动,完成解锁。本实用新型的快速接头装置可以在狭小空间实现快接,拆装方便,能自动锁止并带连接保护措施。

返回首页 | 品牌大全 | 品牌排行 | 品牌问答 | 品牌资讯 | 品牌价值 | 关于我们 | 联系我们 | 免责声明

Copyright 2013-2020 品牌门户,牌子123(www.paizi123.cn) 版权所有 备案号:苏ICP备13009020号-7

网站地图