专利状态
一种用于机床加工的气动夹具
专利申请进度
申请
2020-12-17
授权
2021-09-28
预估到期
2030-12-17
专利基础信息
申请号 申请日
授权公布号 授权公告日
分类号
分类
申请人名称 江苏中智自动化股份有限公司
申请人地址
专利法律状态
  • 2021-09-28
    授权
    状态信息
    授权
摘要
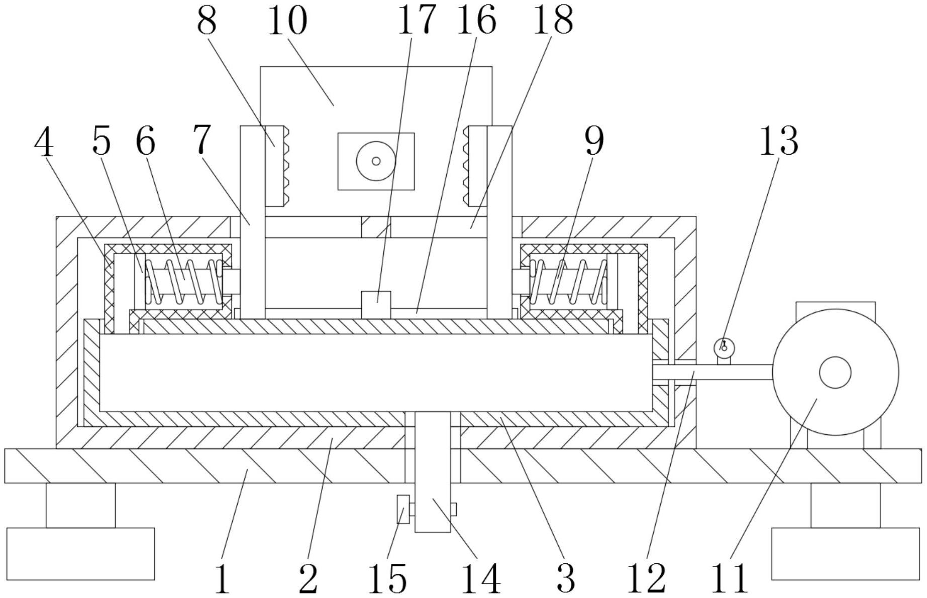
本实用新型公开了一种用于机床加工的气动夹具,包括工作台,工作台的顶部固定连接有驱动箱,驱动箱内腔的底部固定连接有储气箱,储气箱顶部的左右两侧均连通有L型气管,L型气管的内表面滑动连接有活塞,两个活塞相对视的一侧均固定连接有活动柱,活动柱远离活塞的一端贯穿L型气管且固定连接有驱动板,本实用新型通过设置气泵、输气管和压力表,能够对储气箱进行输送气体,通过设置L型气管、活塞、活动柱、驱动板、夹板和压簧,能够对工件进行固定,通过设置以上结构,具备对工件进行固定时,提高固定速度的优点,解决了原有方式对工件进行固定时,固定速度较慢的问题,从而有效的降低了工作人员的劳动强度。

返回首页 | 品牌大全 | 品牌排行 | 品牌问答 | 品牌资讯 | 品牌价值 | 关于我们 | 联系我们 | 免责声明

Copyright 2013-2020 品牌门户,牌子123(www.paizi123.cn) 版权所有 备案号:苏ICP备13009020号-7

网站地图