专利状态
一种用于夹持汽车尾管的夹持装置
专利申请进度
申请
2017-06-13
授权
2018-02-02
预估到期
2027-06-13
专利基础信息
申请号 申请日
授权公布号 授权公告日
分类号
分类
申请人名称 武汉天琪激光设备制造有限公司
申请人地址
专利法律状态
  • 2018-02-02
    授权
    状态信息
    授权
摘要
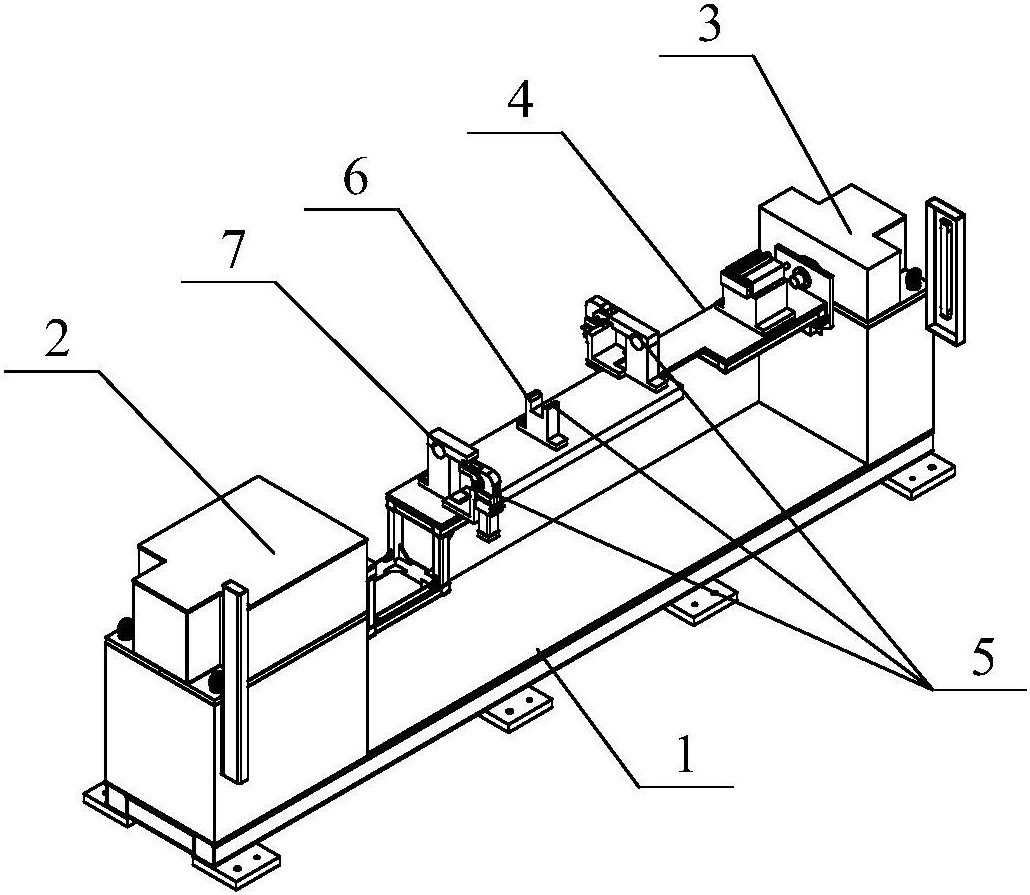
本实用新型公开了一种用于夹持汽车尾管的夹持装置,涉及汽车加工领域,该装置包括底座,所述底座的一端设置有旋转机构,另一端设置有辅助旋转件,所述旋转机构和辅助旋转件之间设置有夹具支撑机构,所述夹具支撑机构能够在旋转机构的带动下旋转,所述夹具支撑机构上设置有若干夹持件,所述夹持件包括防旋转夹具和夹紧夹具。本实用新型的防旋转夹具和夹紧夹具能够将尾管紧紧夹持住,夹具支撑机构能够根据焊接需要将尾管旋转至需要的角度,与现有技术中通过人工搬运和焊接相比,通过夹持装置夹持尾管的劳动强度较低,效率较高,且精确度和一致性均较高。

返回首页 | 品牌大全 | 品牌排行 | 品牌问答 | 品牌资讯 | 品牌价值 | 关于我们 | 联系我们 | 免责声明

Copyright 2013-2020 品牌门户,牌子123(www.paizi123.cn) 版权所有 备案号:苏ICP备13009020号-7

网站地图