专利状态
一种切割管材的气动中心架
专利申请进度
申请
2018-12-29
授权
2019-11-05
预估到期
2028-12-29
专利基础信息
申请号 申请日
授权公布号 授权公告日
分类号
分类
申请人名称 武汉天琪激光设备制造有限公司
申请人地址
专利法律状态
  • 2019-11-05
    授权
    状态信息
    授权
摘要
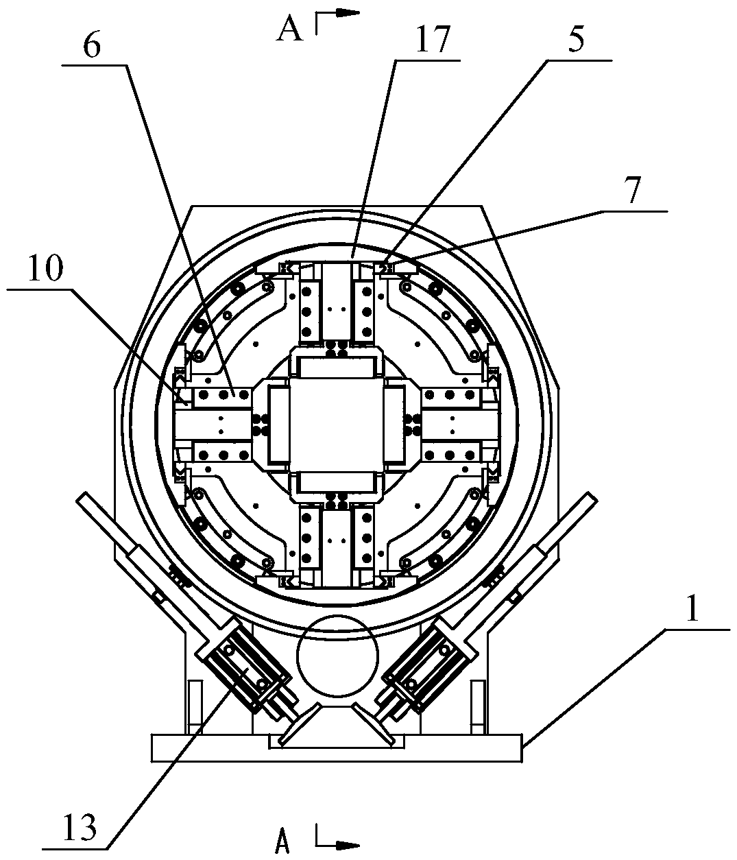
本实用新型公开了一种切割管材的气动中心架,涉及激光切割领域,该中心架包括底座和旋转动力机构,所述底座上设置有推拉机构和转芯,所述旋转动力机构与转芯连接,用于带动转芯旋转;所述转芯的外表面设置有若干第一滑块导轨组件,端部设置有若干第二滑块导轨组件,所述第二滑块导轨组件上设置有夹辊组件,所述夹辊组件用于夹持待切割的管材,所述第一滑块导轨组件与推拉机构相连接,并用于推动所述夹辊组件相对待切割管材往复运动。本实用新型的气动中心架,不仅成本较低,而且结构较轻巧。

返回首页 | 品牌大全 | 品牌排行 | 品牌问答 | 品牌资讯 | 品牌价值 | 关于我们 | 联系我们 | 免责声明

Copyright 2013-2020 品牌门户,牌子123(www.paizi123.cn) 版权所有 备案号:苏ICP备13009020号-7

网站地图