专利状态
一种双动调节喉镜
专利申请进度
申请
2014-02-19
申请公布
2014-05-21
授权
2015-10-28
预估到期
2034-02-19
专利基础信息
申请号 申请日
授权公布号 授权公告日
分类号
分类
申请人名称 浙江天松医疗器械股份有限公司
申请人地址
专利法律状态
  • 2015-10-28
    授权
    状态信息
    授权
  • 2014-06-25
    实质审查的生效
    状态信息
    实质审查的生效IPC(主分类):A61B 1/267申请日:20140219
  • 2014-05-21
    公布
    状态信息
    公开
摘要
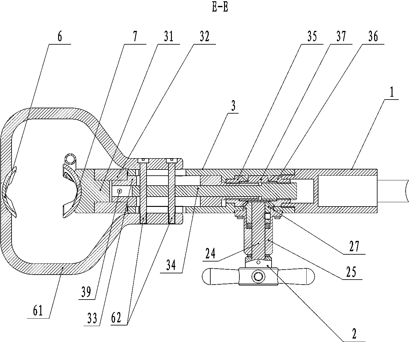
本发明涉及一种双动调节喉镜,它主要适用于人体的喉部手术中。本发明的手柄主体包括主体一、主体二、动镜片二座、外螺杆、内螺杆、锥齿轮二、锥齿轮三和挡圈;镜片装置包括动镜片一和动镜片二,手柄主体通过固定支架与动镜片一连接,动镜片二通过动镜片二支架与旋转调节组件连接;平移调节组件包括相互固定的手轮一和手轮柄一、以及传动轴、固定座、锥齿轮一和前、后垫片;旋转调节组件包括调整螺杆和相互固定的手轮二及手轮柄二;通过三个锥齿轮的两两啮合实现两个动镜片的平移,通过动镜片二支架与旋转调节组件的配合实现动镜片二的角度调节。本发明结构设计更合理,使用更加方便、可靠且安全,手术的综合效果好。

返回首页 | 品牌大全 | 品牌排行 | 品牌问答 | 品牌资讯 | 品牌价值 | 关于我们 | 联系我们 | 免责声明

Copyright 2013-2020 品牌门户,牌子123(www.paizi123.cn) 版权所有 备案号:苏ICP备13009020号-7

网站地图