专利状态
穿刺器
专利申请进度
申请
2014-06-26
申请公布
2014-10-01
授权
2016-06-29
预估到期
2034-06-26
专利基础信息
申请号 申请日
授权公布号 授权公告日
分类号
分类
申请人名称 浙江天松医疗器械股份有限公司
申请人地址
专利法律状态
  • 2016-06-29
    授权
    状态信息
    授权
  • 2014-10-29
    实质审查的生效
    状态信息
    实质审查的生效IPC(主分类):A61B 17/34申请日:20140626
  • 2014-10-01
    公布
    状态信息
    公开
摘要
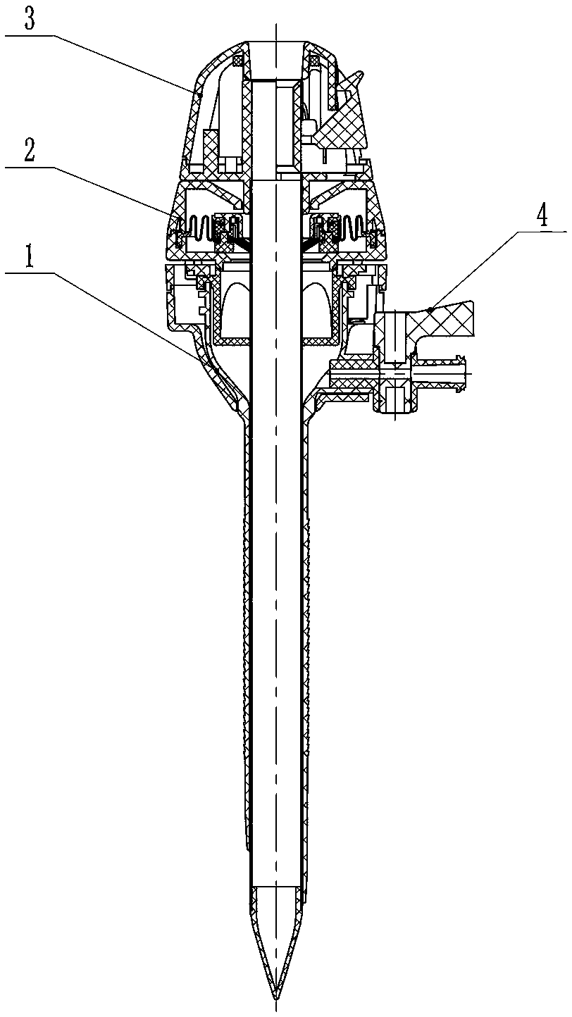
本发明涉及一种穿刺器,它主要适用于人体的腹腔镜手术中。本发明包括套管组件、密封组件、针组件和气阀体组件,其特征在于:在套管组件中还安装有压缩弹簧、支撑杆和定位销,压缩弹簧和支撑杆相互接触并设置在套管下盖和套管上盖之间,定位销与套管上盖连成一体并使套管上盖与套管下盖之间通过过盈配合;在套管上盖上分别开有长槽、卡口槽、定位槽、弹簧孔和支撑杆定位孔;密封下盖的下端还设置有与密封下盖连成一体的旋转卡扣,该旋转卡扣通过卡口槽和长槽与所述的定位槽相配合。本发明的连接结构设计更合理,密封性能更好,且在灭菌、包装、运输过程中即便产生挤压、碰撞、震动,也不会使密封组件脱落,设计及使用安全可靠。

返回首页 | 品牌大全 | 品牌排行 | 品牌问答 | 品牌资讯 | 品牌价值 | 关于我们 | 联系我们 | 免责声明

Copyright 2013-2020 品牌门户,牌子123(www.paizi123.cn) 版权所有 备案号:苏ICP备13009020号-7

网站地图