专利状态
对称三维激光切割方法
专利申请进度
申请
2021-01-25
申请公布
2022-08-12
授权
2023-08-01
预估到期
2041-01-25
专利基础信息
申请号 申请日
授权公布号 授权公告日
分类号
分类
申请人名称 广东大族粤铭激光集团股份有限公司
申请人地址
专利法律状态
  • 2023-08-01
    授权
    状态信息
    授权
  • 2022-08-30
    实质审查的生效
    状态信息
    实质审查的生效;IPC(主分类):B23K26/38;申请日:20210125
  • 2022-08-12
    公布
    状态信息
    公布
摘要
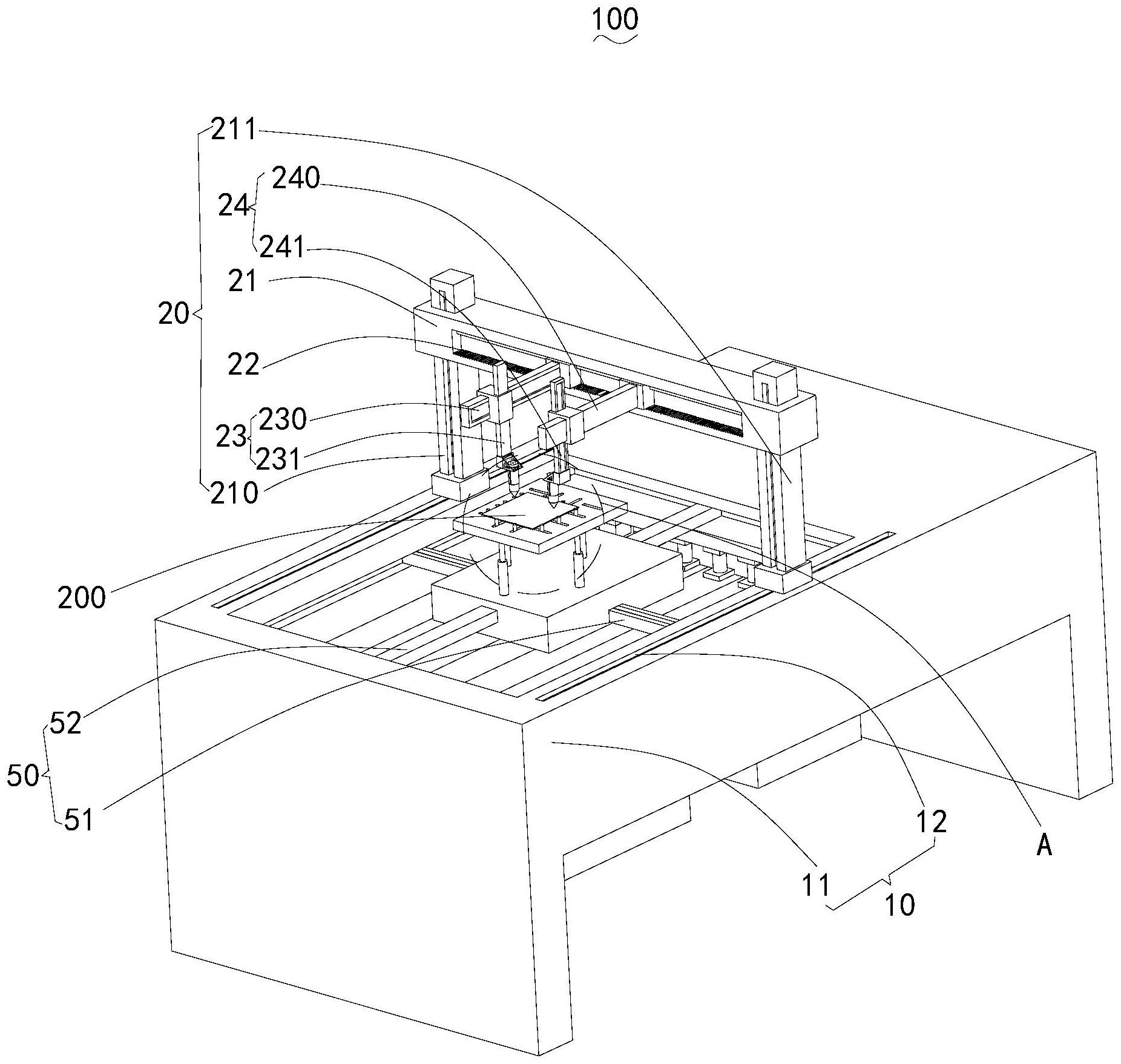
本发明公开了一种对称三维激光切割方法。该对称三维激光切割方法包括如下步骤:将待加工产品置于夹持板上,定位柱移动夹持待加工产品;龙门架沿床体滑轨移动,靠近待加工产品;第一激光组件与第二激光组件分别沿着第一三轴组件及第二三轴组件滑动至待加工产品的加工位置,激光头在重力作用下下落至接触待加工产品,两个激光头分别对待加工产品的相对对称的位置进行切割;两轴机构安装于床体上;切割完一个位置后,X轴移动机构和/或Y轴移动机构带动安装板移动,以调节激光头的位置。本发明所述对称三维激光切割方法,结合待加工产品的移动,从而实现三维产品的激光加工,降低激光切割难度;实现同时对称加工,提升了加工的效率。

返回首页 | 品牌大全 | 品牌排行 | 品牌问答 | 品牌资讯 | 品牌价值 | 关于我们 | 联系我们 | 免责声明

Copyright 2013-2020 品牌门户,牌子123(www.paizi123.cn) 版权所有 备案号:苏ICP备13009020号-7

网站地图