专利状态
酿酒生产中所用的破碎装置
专利申请进度
申请
2020-12-23
授权
2021-12-10
预估到期
2030-12-23
专利基础信息
申请号 申请日
授权公布号 授权公告日
分类号
分类
申请人名称 河南仰韶酒业有限公司
申请人地址
专利法律状态
  • 2021-12-10
    授权
    状态信息
    授权
摘要
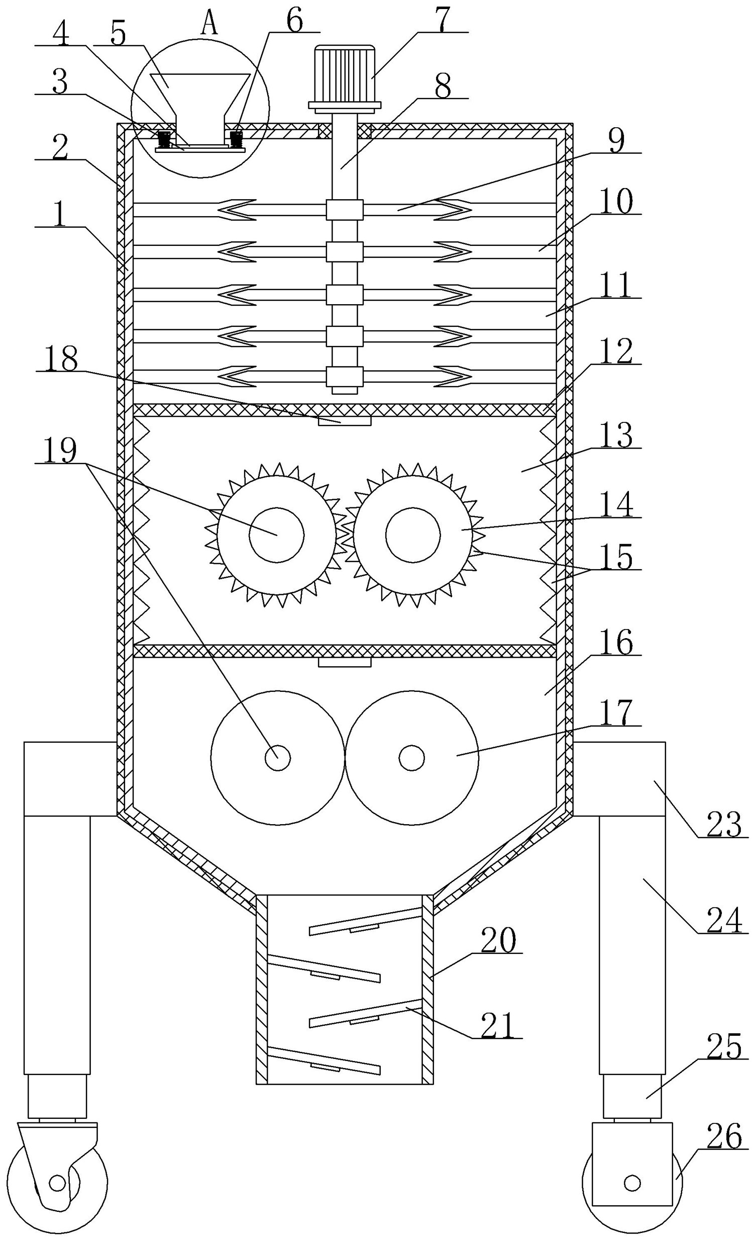
本实用新型涉及一种酿酒生产中所用的破碎装置,包括筒体,其顶部设有进料斗、内部设有两组筛网、底部设有出料管,进料斗下方设有挡板,挡板顶面中心设有密封垫、边缘通过拉伸弹簧与筒体内顶部固连,筛网孔径由上至下递减且其将筒体分隔成切碎室、破碎室和碾磨室,切碎室转动设有转轴,转轴上设有若干尖刃刀片,切碎室对应的筒体内侧壁上呈设有若干Y形刀片,尖刃刀片与Y形刀片的刀刃对应设置,破碎室转动设有一对破碎辊,碾磨室转动设有一对碾磨辊,出料管内由上至下间隔设有若干导流板,导流板上部内均设有电磁铁组件。本实用新型可实现进料后的密封、出料时的磁选除杂以及由切碎、辊式破碎和碾磨组成的三级破碎处理,保证破碎效率和质量。

返回首页 | 品牌大全 | 品牌排行 | 品牌问答 | 品牌资讯 | 品牌价值 | 关于我们 | 联系我们 | 免责声明

Copyright 2013-2020 品牌门户,牌子123(www.paizi123.cn) 版权所有 备案号:苏ICP备13009020号-7

网站地图