专利状态
树干营养注入液高效滴灌装置
专利申请进度
申请
2021-06-22
授权
2021-11-30
预估到期
2031-06-22
专利基础信息
申请号 申请日
授权公布号 授权公告日
分类号
分类
申请人名称 河南神润生物科技有限公司
申请人地址
专利法律状态
  • 2021-11-30
    授权
    状态信息
    授权
摘要
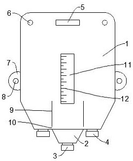
本实用新型公开了树干营养注入液高效滴灌装置,包括袋体,袋体的上设有固定机构,袋体的下端中部设有出液斗,出液斗的下端设有第一出液口,袋体的下端位于出液斗的两侧对称设有第二出液口,袋体的下侧壁由上往下向出液斗方向倾斜设置,本申请的滴灌装置提供第一出液口和第二出液口,可对接多个输液管,确保输液均匀,并以第一出液口设置在出液斗的下端,使第一出液口相较于第二出液口的位置更低,出液压力大,并进一步出液斗的漏斗结构增大第一出液口的出液压力,形成以第一出液口为主,第二出液口为辅的结构,有效提高出液效率。

返回首页 | 品牌大全 | 品牌排行 | 品牌问答 | 品牌资讯 | 品牌价值 | 关于我们 | 联系我们 | 免责声明

Copyright 2013-2020 品牌门户,牌子123(www.paizi123.cn) 版权所有 备案号:苏ICP备13009020号-7

网站地图