专利状态
一种控释掺混肥配料用计量装置
专利申请进度
申请
2021-09-27
授权
2022-07-22
预估到期
2031-09-27
专利基础信息
申请号 申请日
授权公布号 授权公告日
分类号
分类
申请人名称 湖北源丰化工有限公司
申请人地址
专利法律状态
  • 2022-07-22
    授权
    状态信息
    授权
摘要
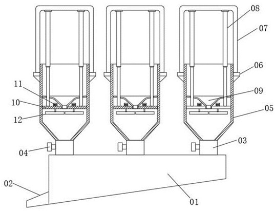
本实用新型涉及肥料配料技术领域,具体公开了一种控释掺混肥配料用计量装置,包括导料箱和三个计量配料筒,所述导料箱顶部沿水平横向固定连通有三个对接管,三根所述对接管顶端均固定连通有计量配料筒,三个所述计量配料筒左右两侧靠近顶部的位置均固定连接有支撑块;本实用新型通过设置的活动限位板配合电动伸缩杆和刻度观察窗,可以快速有效的调节计量配料筒内部的容积,并配合刻度观察窗使得工作人员可以更好的控制调节的计量,同时利用设置的驱动马达配合转盘,使得在倒入配料时,可以使得配料更加均匀的铺散开,防止配料堆积在一处造成容积内部堆积不平,有效提高了精准性。

返回首页 | 品牌大全 | 品牌排行 | 品牌问答 | 品牌资讯 | 品牌价值 | 关于我们 | 联系我们 | 免责声明

Copyright 2013-2020 品牌门户,牌子123(www.paizi123.cn) 版权所有 备案号:苏ICP备13009020号-7

网站地图