专利状态
一种多功能水溶肥生产用搅拌设备
专利申请进度
申请
2021-09-27
授权
2022-07-22
预估到期
2031-09-27
专利基础信息
申请号 申请日
授权公布号 授权公告日
分类号
分类
申请人名称 湖北源丰化工有限公司
申请人地址
专利法律状态
  • 2022-07-22
    授权
    状态信息
    授权
摘要
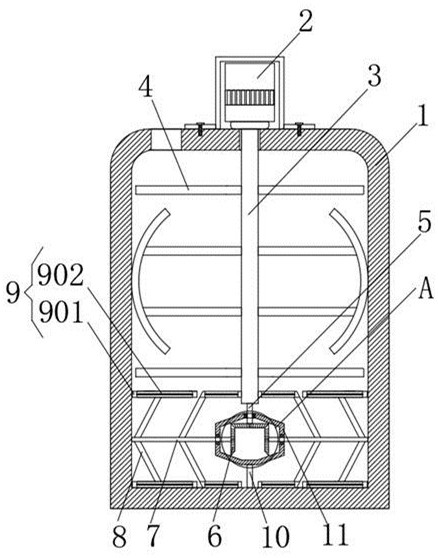
本实用新型涉及水溶肥生产技术领域,具体公开了一种多功能水溶肥生产用搅拌设备,包括设备主体和竖杆,所述设备主体的顶部固定安装有电机,所述电机底部的输出端固定连接有主杆,所述主杆的表面均匀固定连接有搅拌杆,所述竖杆固定连接在主杆的底端,所述竖杆的底端设置有传动组件,所述传动组件的侧面设置有横杆;本实用新型在设置主体上安装电机,利用电机来带动主杆进行转动,使得搅拌杆可以对原料进行混合搅拌,同时竖杆上的第一齿轮会带动第二齿轮和第三齿轮进行转动,来使得横杆上的连接杆和混料组件进行竖向旋转,由于混料组件上的刮板设计成尖角状,从而可以对设备主体内腔底部的原料进行刮动清理。

返回首页 | 品牌大全 | 品牌排行 | 品牌问答 | 品牌资讯 | 品牌价值 | 关于我们 | 联系我们 | 免责声明

Copyright 2013-2020 品牌门户,牌子123(www.paizi123.cn) 版权所有 备案号:苏ICP备13009020号-7

网站地图