专利状态
一种多功能水溶肥气体除尘装置的自清理装置
专利申请进度
申请
2019-08-30
授权
2020-07-14
预估到期
2029-08-30
专利基础信息
申请号 申请日
授权公布号 授权公告日
分类号
分类
申请人名称 湖北源丰化工有限公司
申请人地址
专利法律状态
  • 2020-07-14
    授权
    状态信息
    授权
摘要
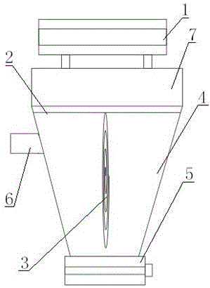
本实用新型公开了一种多功能水溶肥气体除尘装置的自清理装置,其组成包括筒体,筒体的顶部设置有过滤装置,过滤装置的顶部设置有引风机,筒体顶部侧壁上还设置有进料口,其特征在于:所述筒体为漏斗形结构,所述筒体的底部出料口处设置有翻板阀,所述筒体的内部中上部设置有横梁,所述横梁的正中位置固定安装有链条。本实用新型简单有效,不需要额外增加其他的动力设备,成本低,利于推广使用。  

返回首页 | 品牌大全 | 品牌排行 | 品牌问答 | 品牌资讯 | 品牌价值 | 关于我们 | 联系我们 | 免责声明

Copyright 2013-2020 品牌门户,牌子123(www.paizi123.cn) 版权所有 备案号:苏ICP备13009020号-7

网站地图