专利状态
一种方便上料的粉碎机
专利申请进度
申请
2023-08-03
授权
2024-03-12
预估到期
2033-08-03
专利基础信息
申请号 申请日
授权公布号 授权公告日
分类号
分类
申请人名称 安徽省虹源饲料科技有限公司
申请人地址
专利法律状态
  • 2024-03-12
    授权
    状态信息
    授权
摘要
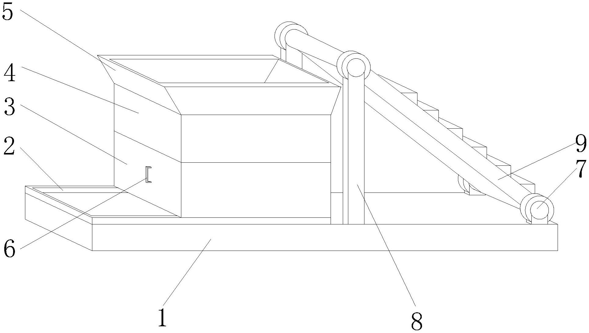
本实用新型涉及粉碎机领域,公开了一种方便上料的粉碎机,包括底座,所述底座上端一侧固定设置有滑轨,所述滑轨两两之间滑动设置有收集箱,所述收集箱一侧开设有出料机构,所述滑轨上端一侧固定设置有出料门,所述出料门上端固定设置有放置槽,所述放置槽上端固定设置有投料口。本实用新型中,将饲料放置从传送带较低的地方放上去,然后启动传送带就可以将饲料放入投料口,对饲料进行粉碎,粉碎完成之后就会掉落至收集箱内部,然后在粉碎完成之后就可以通过把手将出料口打开,将内部的收集箱从滑轨上滑出,当滑动至滑轨边缘的时候,工作人员用脚对脚踢块向上提,就可以完成下料,且不会有过多的粉末。

返回首页 | 品牌大全 | 品牌排行 | 品牌问答 | 品牌资讯 | 品牌价值 | 关于我们 | 联系我们 | 免责声明

Copyright 2013-2020 品牌门户,牌子123(www.paizi123.cn) 版权所有 备案号:苏ICP备13009020号-7

网站地图