专利状态
一种贴膜雕刻机收纳布收卷设备
专利申请进度
申请
2021-06-24
授权
2022-02-08
预估到期
2031-06-24
专利基础信息
申请号 申请日
授权公布号 授权公告日
分类号
分类
申请人名称 广州市蓝彩实业有限公司
申请人地址
专利法律状态
  • 2022-02-08
    授权
    状态信息
    授权
摘要
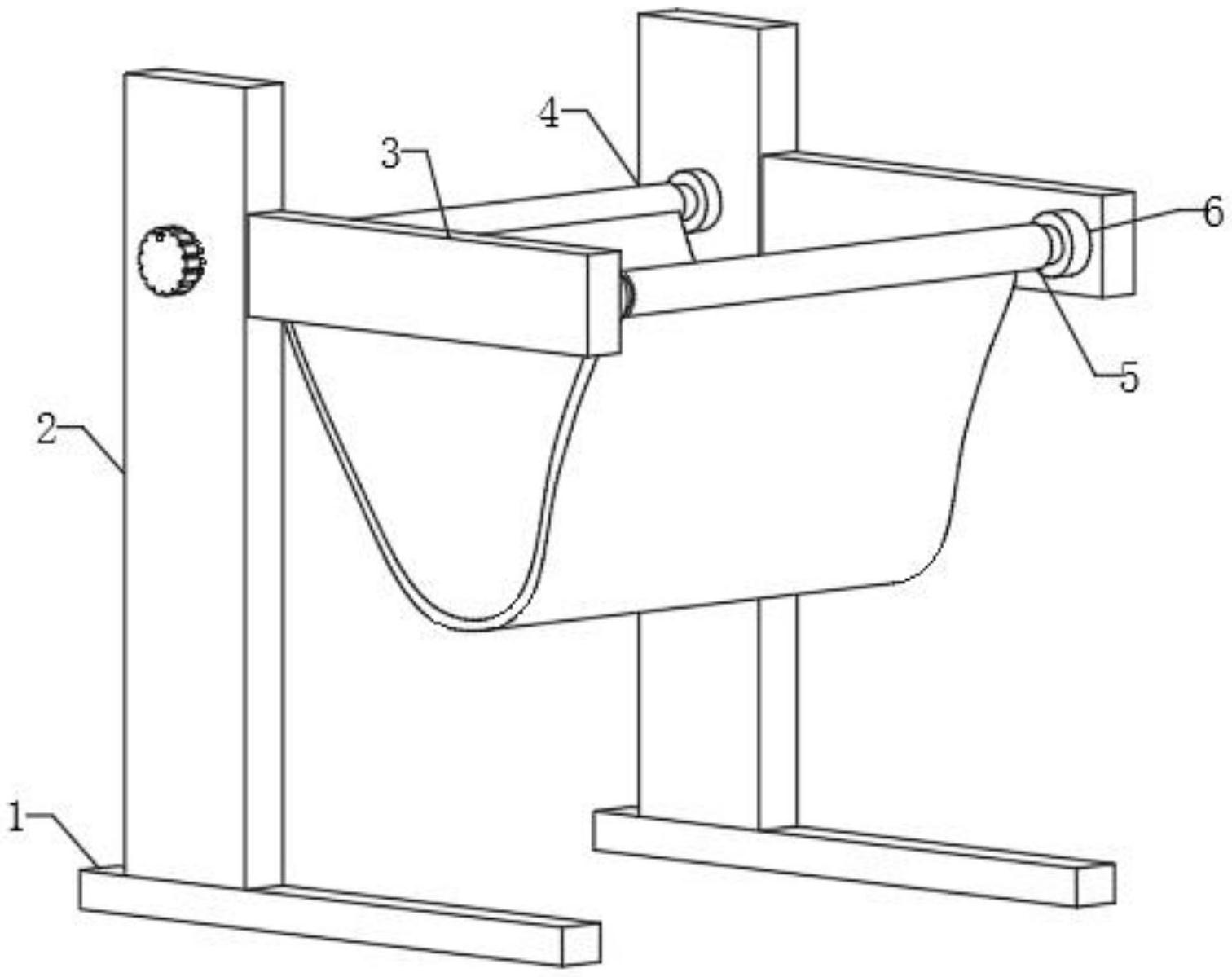
本实用新型公开了一种贴膜雕刻机收纳布收卷设备,包括支撑架、支撑板、连接板、转辊一、转辊二、固定块和收纳布,所述支撑架的上方一侧固定连接有支撑板,所述两侧支撑板之间设置有转辊一,所述支撑板的侧壁上固定连接有连接板,所述两侧连接板远离支撑板的一端侧壁固定连接有固定块,所述两侧固定块之间设置有转辊二。本实用新型结构简单,通过将转辊二箱固定块的方向推动,使转辊二的两端对连接槽内部的移动板进行挤压,从而对内部的弹簧进行挤压,方便将转辊二从固定块上取下,在转动旋钮和转辊一进行收卷,防止收纳布表面堆积灰尘,通过设置固定杆和支撑板一侧开设的限位孔结合,可以将收卷好的转辊一固定住,防止其转动,提高稳定性。

返回首页 | 品牌大全 | 品牌排行 | 品牌问答 | 品牌资讯 | 品牌价值 | 关于我们 | 联系我们 | 免责声明

Copyright 2013-2020 品牌门户,牌子123(www.paizi123.cn) 版权所有 备案号:苏ICP备13009020号-7

网站地图