专利状态
一种贴膜雕刻机可调收纳装置
专利申请进度
申请
2021-06-23
授权
2021-11-19
预估到期
2031-06-23
专利基础信息
申请号 申请日
授权公布号 授权公告日
分类号
分类
申请人名称 广州市蓝彩实业有限公司
申请人地址
专利法律状态
  • 2021-11-19
    授权
    状态信息
    授权
摘要
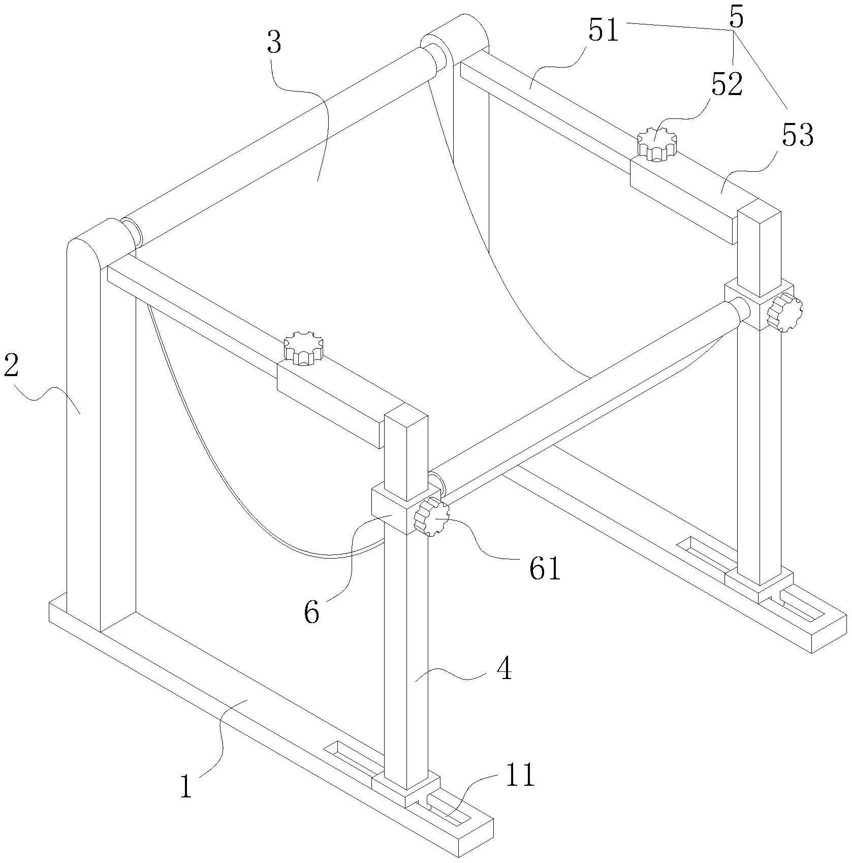
本实用新型公开了一种贴膜雕刻机可调收纳装置,涉及雕刻机技术领域。本实用新型包括支脚和收纳布,支脚并排设置有两个,两个支脚顶部的一侧均竖直固定有立柱,两个立柱之间水平固定有第一撑杆,两个支脚顶部的另一侧均滑动连接有活动柱,活动柱上均滑动套接有套件,两个套件之间水平固定有第二撑杆,收纳布的两端分别固定在第一撑杆与第二撑杆上,立柱与活动柱之间通过伸缩件活动连接。本实用新型通过移动活动柱,能够对第一撑杆与第二撑杆的水平间距进行调整,进而能够对收纳布的展开程度进行调整,通过沿着活动柱上下移动套件,能够通过调整第一撑杆与第二撑杆的相对位置高度来调整收纳布的展开状态,使用更加的灵活。

返回首页 | 品牌大全 | 品牌排行 | 品牌问答 | 品牌资讯 | 品牌价值 | 关于我们 | 联系我们 | 免责声明

Copyright 2013-2020 品牌门户,牌子123(www.paizi123.cn) 版权所有 备案号:苏ICP备13009020号-7

网站地图