专利状态
多功能药食同源食品辅料提取设备
专利申请进度
申请
2022-09-30
授权
2022-12-30
预估到期
2032-09-30
专利基础信息
申请号 申请日
授权公布号 授权公告日
分类号
分类
申请人名称 广西芊河茶业发展有限公司
申请人地址
专利法律状态
  • 2022-12-30
    授权
    状态信息
    授权
摘要
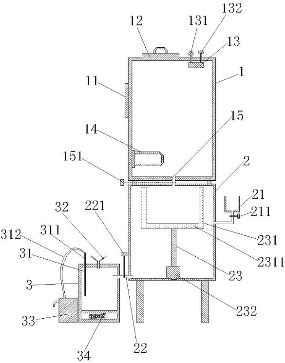
多功能药食同源食品辅料提取设备,包含熬煮炉(1)、提纯反应炉(2)、分层罐(3),本实用新型的多功能药食同源食品辅料提取设备,通过调整熬煮罐中气压,针对不同材质的药食材进行加热熬煮,按需求提取出其中某部分的有益成分,并同步完成离心过滤、提纯、成分分离等多个工作。创新了同一设备提取多种不同材质药食材有益成分的新工艺,由于压力温度可控,更好保全了原料的成分。设备多功能,操作简单,原料利用率高,加工成品成分精细,有效节省加工时间和成本。

返回首页 | 品牌大全 | 品牌排行 | 品牌问答 | 品牌资讯 | 品牌价值 | 关于我们 | 联系我们 | 免责声明

Copyright 2013-2020 品牌门户,牌子123(www.paizi123.cn) 版权所有 备案号:苏ICP备13009020号-7

网站地图