专利状态
一种茶叶加工用的萎凋槽
专利申请进度
申请
2019-12-30
授权
2020-09-22
预估到期
2029-12-30
专利基础信息
申请号 申请日
授权公布号 授权公告日
分类号
分类
申请人名称 宜宾川红茶业集团有限公司
申请人地址
专利法律状态
  • 2020-09-22
    授权
    状态信息
    授权
摘要
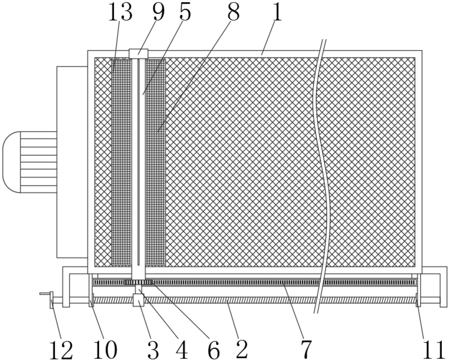
本实用新型涉及茶叶萎凋槽技术领域,尤其涉及一种茶叶加工用的萎凋槽,解决了现有技术中在茶叶在萎凋槽内萎凋时,操作人员手动将茶叶翻转,操作较为繁琐,翻转不够均匀,茶叶萎凋效果较差的问题。一种茶叶加工用的萎凋槽,包括槽体,槽体的一侧设有螺套,螺套的内部螺纹连接有与槽体转动连接的螺杆,螺杆一端延伸至外侧,槽体的另一侧设有滑块,螺套和滑块之间通过转轴固定连接,转轴的表面套设有套筒,套筒的表面设有若干个呈中心对称分布的翻板。本实用新型直接使用翻板将茶叶翻转,在横向运动的同时实现翻转,只需转动螺杆,操作简单,实现横向运动联动翻转,茶叶翻转的较为均匀,茶叶萎凋效果较好。  

返回首页 | 品牌大全 | 品牌排行 | 品牌问答 | 品牌资讯 | 品牌价值 | 关于我们 | 联系我们 | 免责声明

Copyright 2013-2020 品牌门户,牌子123(www.paizi123.cn) 版权所有 备案号:苏ICP备13009020号-7

网站地图