专利状态
一种用于解冻的气泡机
专利申请进度
申请
2022-01-25
授权
2022-08-26
预估到期
2032-01-25
专利基础信息
申请号 申请日
授权公布号 授权公告日
分类号
分类
申请人名称 鲜美来食品股份有限公司
申请人地址
专利法律状态
  • 2022-08-26
    授权
    状态信息
    授权
摘要
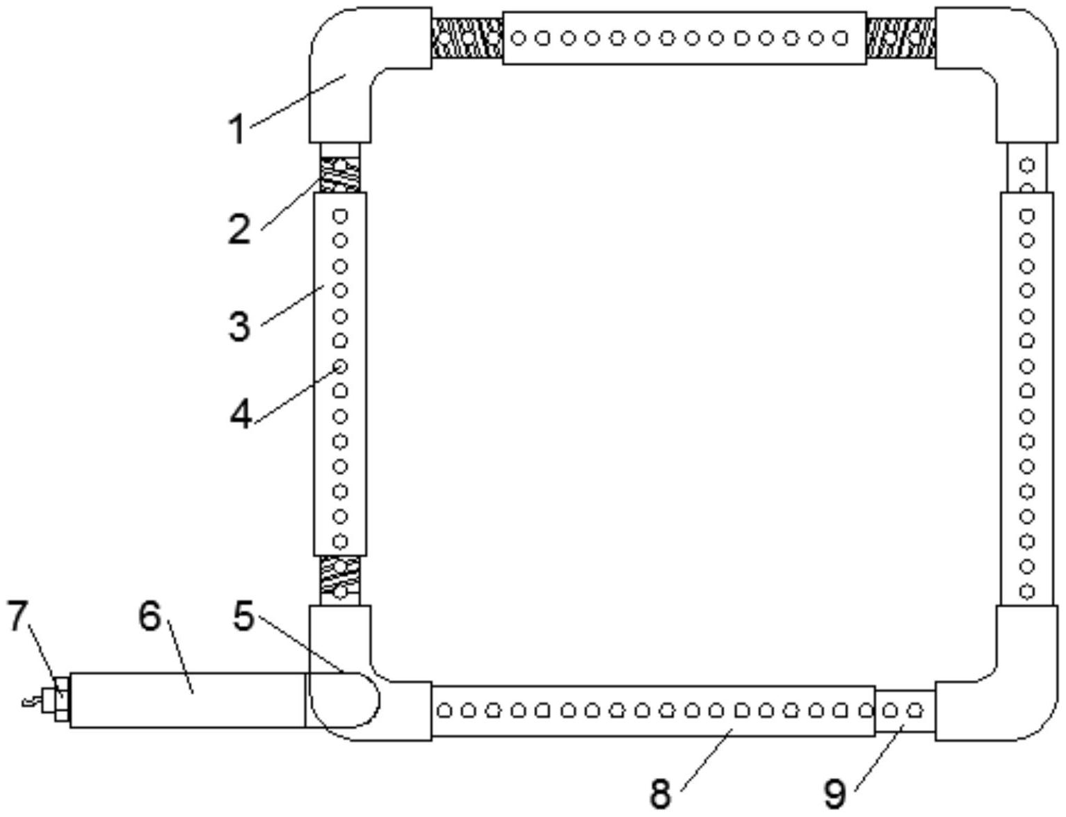
本实用新型属于解冻设备的技术领域,具体公开了一种用于解冻的气泡机,包括一对第一伸缩管和一对第二伸缩管,一对第一伸缩管和一对所述第二伸缩管依次连接构成环形管串;且管串的连接有进气管,进气管和管串所在的平面垂直,且进气管连接有气源,其中,第一伸缩管和第二伸缩管的侧壁均开设有排气孔。本实用新型可将管串置于容纳有水和生鲜冻品的容器内,进而利用水和生鲜冻品换热解冻的同时通过向容器内通气,提高水与外界热交换效率,通过气体发散水中,加快解冻,提高解冻效率;另外,可通过第一伸缩管和第二伸缩管的伸缩特性,以便于收纳,且可通过改变管串的尺寸以适应于不同尺寸的容器。

返回首页 | 品牌大全 | 品牌排行 | 品牌问答 | 品牌资讯 | 品牌价值 | 关于我们 | 联系我们 | 免责声明

Copyright 2013-2020 品牌门户,牌子123(www.paizi123.cn) 版权所有 备案号:苏ICP备13009020号-7

网站地图