专利状态
一种暂存转运架
专利申请进度
申请
2022-01-26
授权
2022-07-26
预估到期
2032-01-26
专利基础信息
申请号 申请日
授权公布号 授权公告日
分类号
分类
申请人名称 鲜美来食品股份有限公司
申请人地址
专利法律状态
  • 2022-07-26
    授权
    状态信息
    授权
摘要
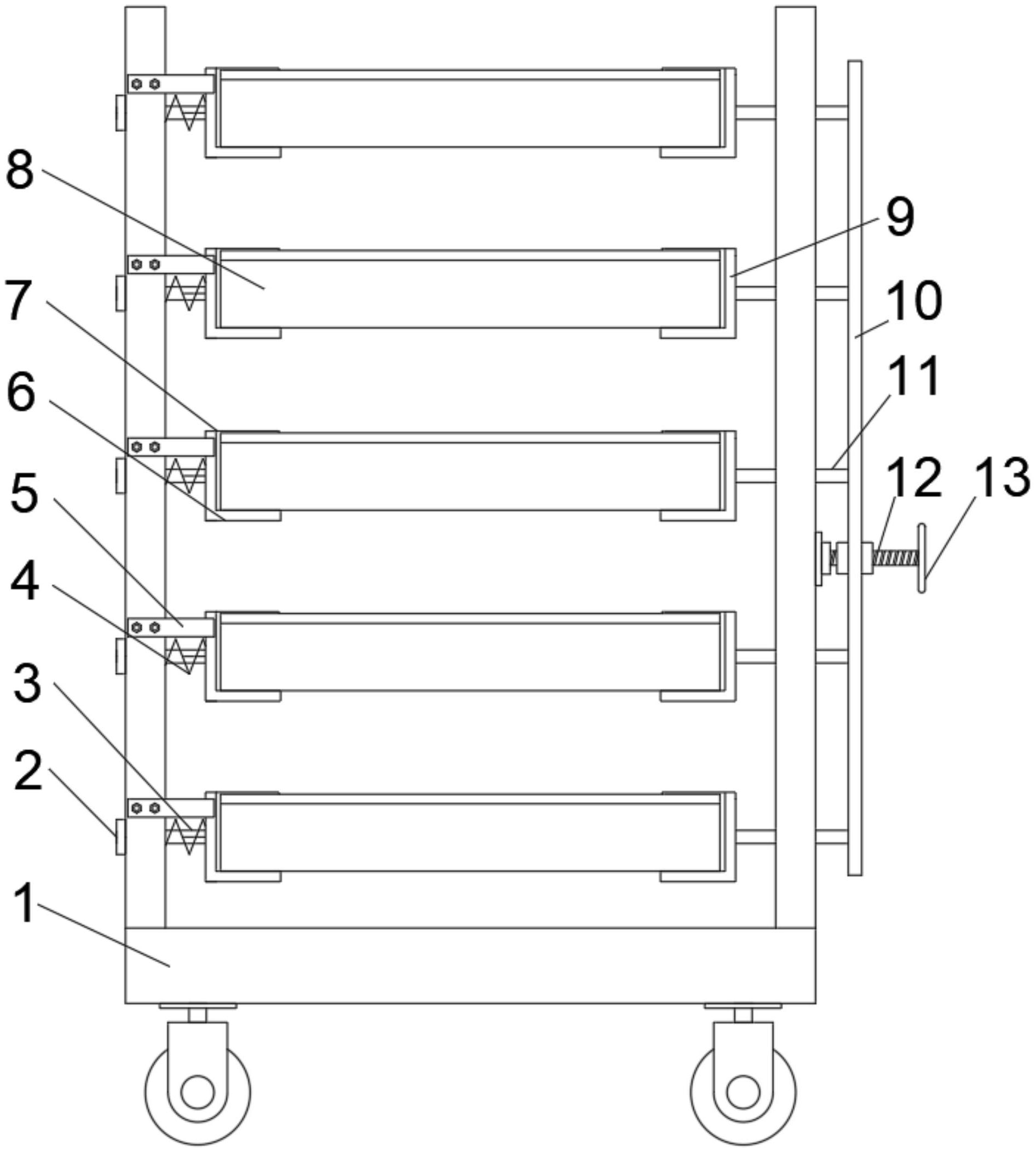
本实用新型属于转运设备的技术领域,具体公开了一种暂存转运架,包括可移动车架和托盘,以及一对并列的支撑架和驱动机构,支撑架的下端固定于可移动车架,且自支撑架的下端至上端依次设有若干用于放置托盘的托架,托架包括左插槽和右插槽,且托盘的两侧分别插接于左插槽和右插槽内,且左插槽和设于一支撑架上的第一滑套内的第一导向杆连接,右插槽和设于另一支撑架上的第二滑套内的第二导向杆连接,其中,驱动机构用于驱动右插槽靠近或远离左插槽,第一导向杆上套设有伸缩弹簧,伸缩弹簧的两端分别与左插槽和第一滑套抵触。本装置能够对托盘进行稳定夹持,避免托盘出现晃动的情况,有效保证产品质量。

返回首页 | 品牌大全 | 品牌排行 | 品牌问答 | 品牌资讯 | 品牌价值 | 关于我们 | 联系我们 | 免责声明

Copyright 2013-2020 品牌门户,牌子123(www.paizi123.cn) 版权所有 备案号:苏ICP备13009020号-7

网站地图