专利状态
一种小酥肉原料混合装置
专利申请进度
申请
2023-02-23
授权
2023-07-28
预估到期
2033-02-23
专利基础信息
申请号 申请日
授权公布号 授权公告日
分类号
分类
申请人名称 鲜美来食品股份有限公司
申请人地址
专利法律状态
  • 2023-07-28
    授权
    状态信息
    授权
摘要
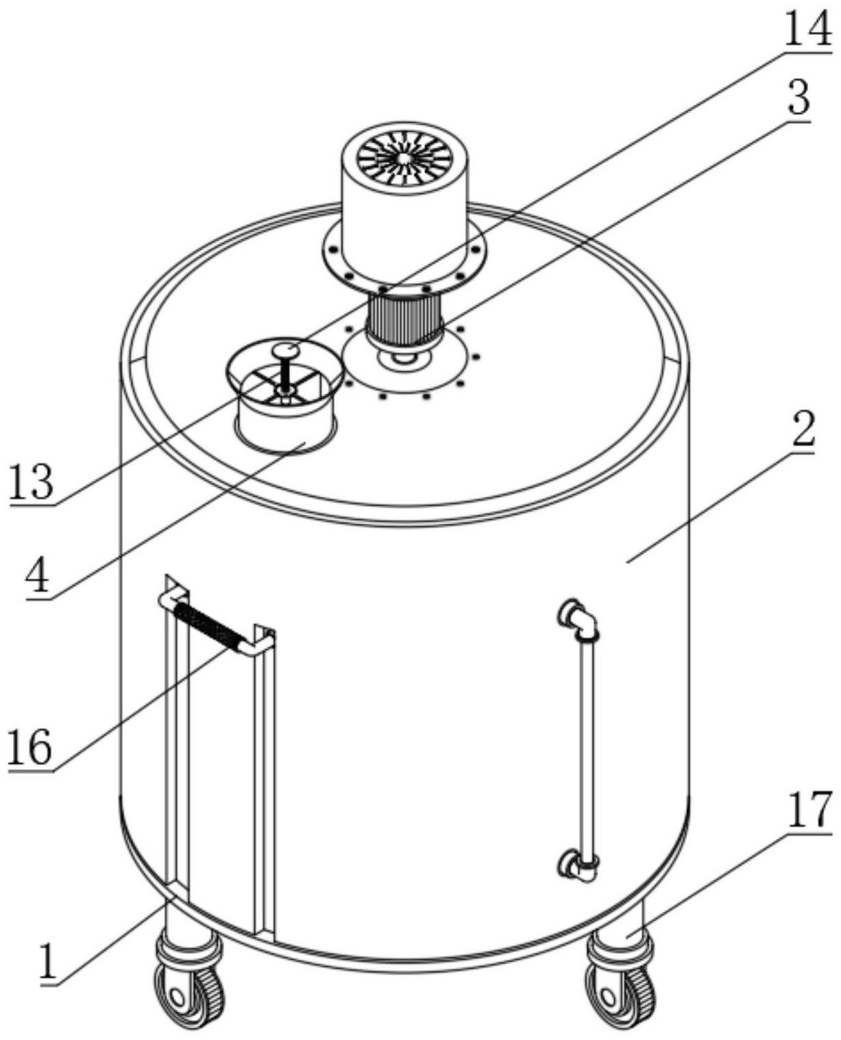
本实用新型涉及小酥肉生产加工技术领域,具体公开了一种小酥肉原料混合装置,包括承载罐、拼接罐、动力单元和搅拌机构,所述拼接罐的下表面与承载罐可拆卸连接,所述动力单元设置在拼接罐的顶端,所述动力单元用于驱动搅拌机构,所述拼接罐上位于动力单元的一侧设置有预混筒,所述预混筒的内壁设置有安装架。该小酥肉原料混合装置通过混合架在预混筒内转动,可以对放入预混筒内的小酥肉辅料进行预混合,在搅拌机构对承载罐内的虾仁搅拌过程中使预混合后的辅料流出预混筒,从而可以使辅料均匀的覆盖在虾仁上,使混合更加充分,同时使辅料分布更加均匀,避免辅料分布不均导致虾仁味道不宜,减少了工作人员的操作步骤,提高混合效率。

返回首页 | 品牌大全 | 品牌排行 | 品牌问答 | 品牌资讯 | 品牌价值 | 关于我们 | 联系我们 | 免责声明

Copyright 2013-2020 品牌门户,牌子123(www.paizi123.cn) 版权所有 备案号:苏ICP备13009020号-7

网站地图