专利状态
一种六堡茶发酵罐及六堡茶发酵工艺过程
专利申请进度
申请
2010-07-13
申请公布
2010-12-15
授权
2012-05-30
预估到期
2030-07-13
专利基础信息
申请号 申请日
授权公布号 授权公告日
分类号
分类
申请人名称 广西梧州茂圣茶业有限公司
申请人地址
专利法律状态
  • 2012-05-30
    授权
    状态信息
    授权
  • 2011-02-02
    实质审查的生效
    状态信息
    实质审查的生效IPC(主分类):A23F 3/08申请日:20100713
  • 2010-12-15
    公布
    状态信息
    公开
摘要
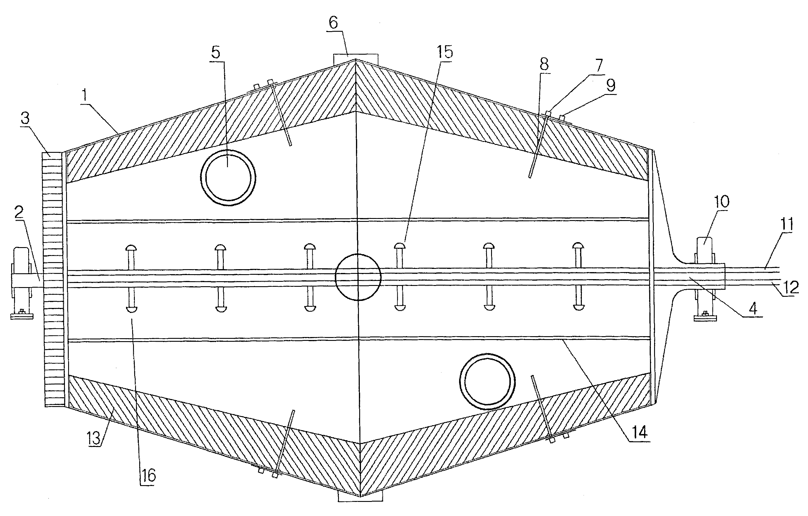
一种六堡茶发酵罐,包括罐体1,在罐体一端有齿轮3和轴承2,另一端有轴承4,轴承装在轴承基座10上,在罐体的罐壁分布开有带密封盖的出料口6、进料口5、取样孔9和测温孔7,测温孔有温度传感器8,在罐体内横向装有带蒸汽喷嘴15的进汽管11和带水雾喷嘴16的进水管12,罐体内装有抄料板13和加固钢管14。用本发明的六堡茶发酵罐进行茶叶发酵的过程是:将茶叶从进料口5输入罐体1内,加水加蒸汽后,茶叶开始发酵。茶叶发酵过程中,通过滚动发酵罐,保持茶叶均匀的温、湿度。由于是在密封的不锈钢罐体内发酵,使茶叶得到充分、均匀的发酵,同时保证生产的六堡茶更卫生,品质更好。本发明的发酵罐构造简单,发酵效果好,发酵工艺操作简易。

返回首页 | 品牌大全 | 品牌排行 | 品牌问答 | 品牌资讯 | 品牌价值 | 关于我们 | 联系我们 | 免责声明

Copyright 2013-2020 品牌门户,牌子123(www.paizi123.cn) 版权所有 备案号:苏ICP备13009020号-7

网站地图