专利状态
半自动茶叶压饼机及茶叶压饼工艺过程
专利申请进度
申请
2011-09-29
申请公布
2012-02-22
授权
2013-01-09
预估到期
2031-09-29
专利基础信息
申请号 申请日
授权公布号 授权公告日
分类号
分类
申请人名称 广西梧州茂圣茶业有限公司
申请人地址
专利法律状态
  • 2013-01-09
    授权
    状态信息
    授权
  • 2012-04-04
    实质审查的生效
    状态信息
    实质审查的生效IPC(主分类):A23F 3/06申请日:20110929
  • 2012-02-22
    公布
    状态信息
    公开
摘要
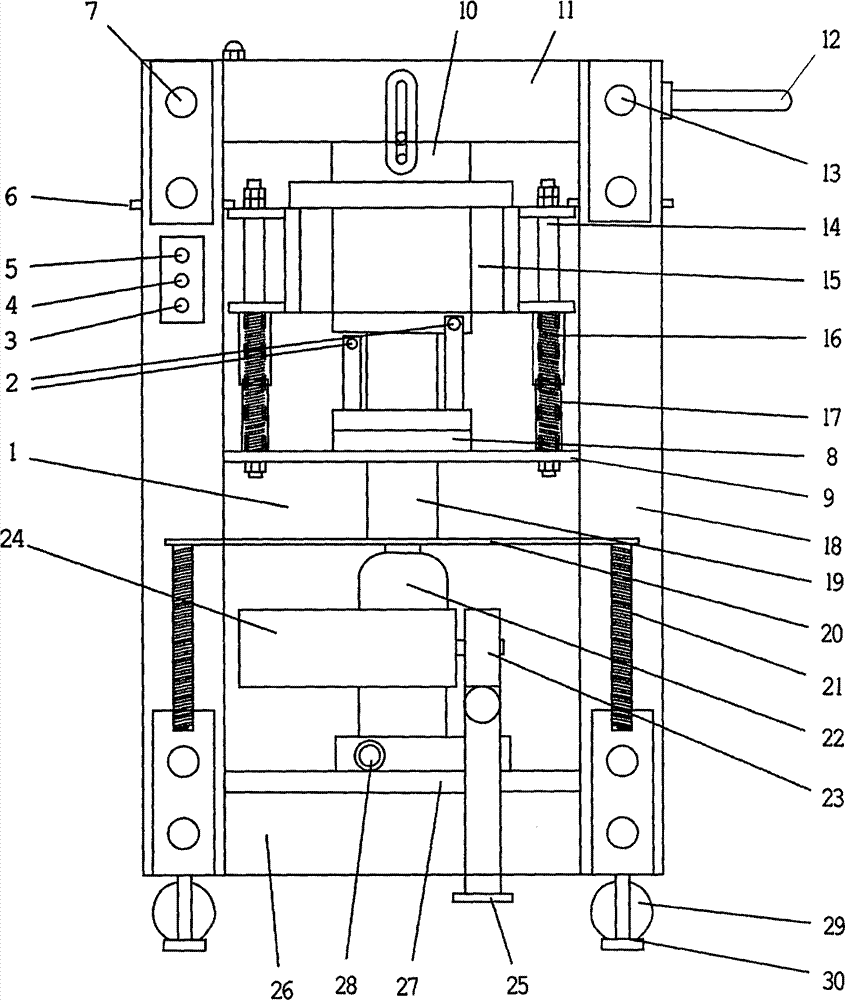
本发明提供一种半自动茶叶压饼机,包括机体,四根立柱18,下主力支承厚板26,托板27,托板上的千斤顶22、电机24和传动凸轮23,脚踏板25,升降滑动板20,油路开关28,拉簧21,升降滑柱19,固定模具托板9,升降模具托板8,模具滑动杆14,在模具滑动杆装有弹簧17和弹簧套16,在固定模具托板9装有高低不同的两根固定杆及感应器2,模具滑动杆上有模具15及限位销6,上主力支承厚板11及模盖压板10等。用半自动茶叶压饼机将茶叶压制茶饼的工艺过程为:装模具,然后将茶叶倒入模具,压制茶饼,取出茶饼,将模具复位。本发明的半自动茶叶压饼机结构简单,易操作,压力均匀,压茶效果好,成形率高,能稳定压制出优质茶饼。

返回首页 | 品牌大全 | 品牌排行 | 品牌问答 | 品牌资讯 | 品牌价值 | 关于我们 | 联系我们 | 免责声明

Copyright 2013-2020 品牌门户,牌子123(www.paizi123.cn) 版权所有 备案号:苏ICP备13009020号-7

网站地图