专利状态
一种拨块驱动式节能型茶叶热风烘干装置
专利申请进度
申请
2017-12-21
授权
2019-12-24
预估到期
2027-12-21
专利基础信息
申请号 申请日
授权公布号 授权公告日
分类号
分类
申请人名称 云南农垦集团勐海八角亭茶业有限公司
申请人地址
专利法律状态
  • 2019-12-24
    授权
    状态信息
    授权
摘要
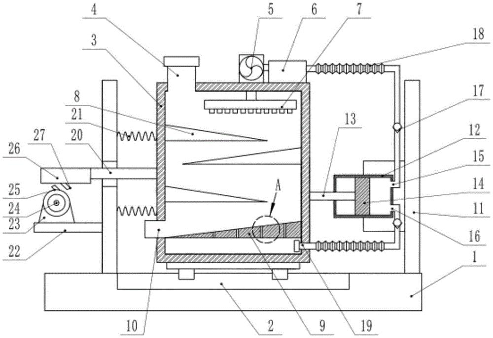
本实用新型公开了一种拨块驱动式节能型茶叶热风烘干装置,包括底座、烘干箱、风机、加热装置、热风喷头和抽风装置,所述滑轨上滑动安装有烘干箱,所述烘干箱上侧还固定安装有风机,风机的出风口连接有热风喷头,所述风机的进风口连接有加热装置,位于右侧的竖板的内侧固定安装有抽风装置。通过设置下料板从而增加茶叶在烘干箱内部的行程,延缓茶叶在烘干箱内部的时间,起到更好的烘干效果;通过活塞循环往复运动,从而实现烘干箱的热风回收再利用,大大降低能量损失,提高能量的利用率,起到节能环保的作用。

返回首页 | 品牌大全 | 品牌排行 | 品牌问答 | 品牌资讯 | 品牌价值 | 关于我们 | 联系我们 | 免责声明

Copyright 2013-2020 品牌门户,牌子123(www.paizi123.cn) 版权所有 备案号:苏ICP备13009020号-7

网站地图