专利状态
一种茶叶种植滴灌装置
专利申请进度
申请
2021-12-02
授权
2022-05-31
预估到期
2031-12-02
专利基础信息
申请号 申请日
授权公布号 授权公告日
分类号
分类
申请人名称 云南农垦集团勐海八角亭茶业有限公司
申请人地址
专利法律状态
  • 2022-05-31
    授权
    状态信息
    授权
摘要
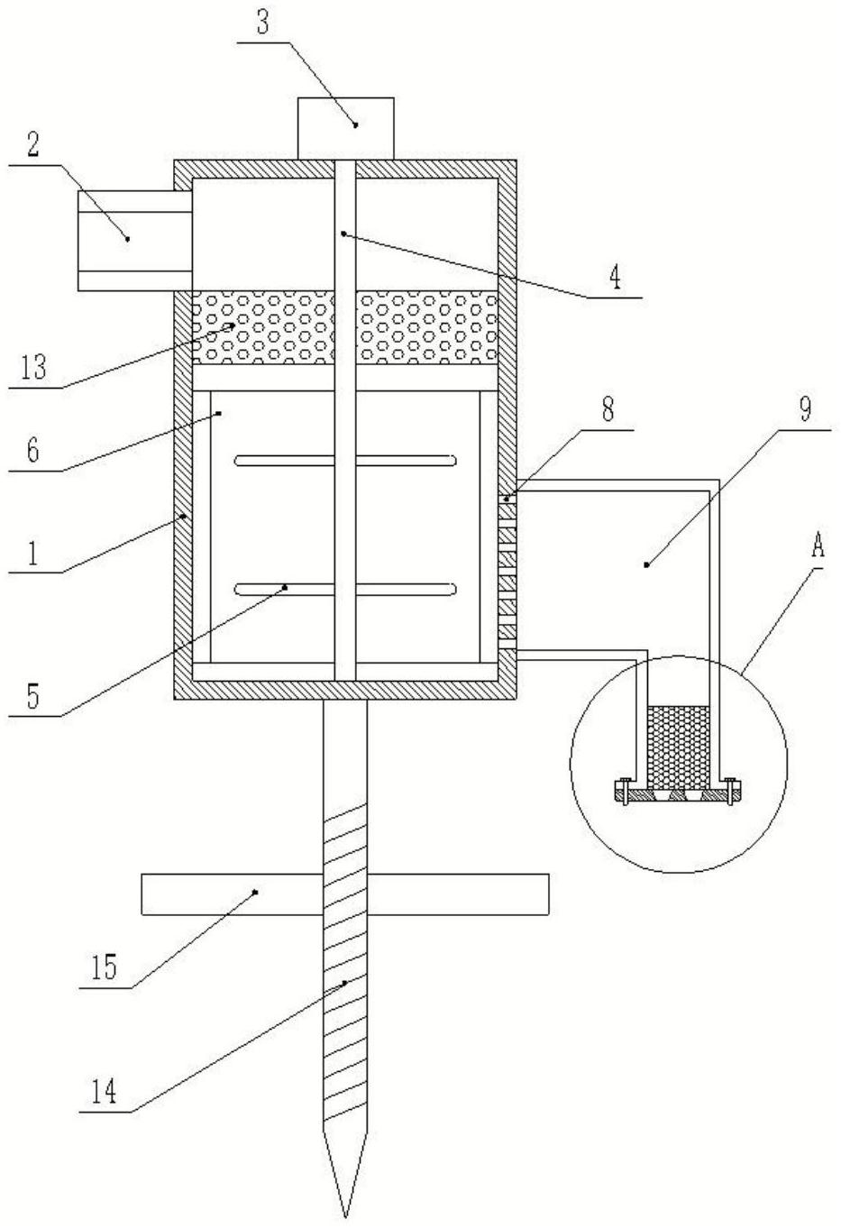
本实用新型公开了一种茶叶种植滴灌装置,包括外筒体;外筒体左侧上端连通有进水管,右侧下端开设有出水孔;外筒体的上下底之间转动安装有转轴,转轴的顶端与电机连接;转轴的侧壁通过连杆固定连接有内筒体,内筒体的侧壁上设置有开口;内筒体转动过程中,开口可以与出水孔对正或偏移;外筒体位于出水孔的外壁处连接有“L”形弯管;“L”形弯管的出口端安装有出水板,出水板上开设有滴灌孔。本申请能够调节有效的出水孔的数量,实现调节滴灌水流量的作用,可以针对茶园中不同树龄的茶树进行针对性调节。

返回首页 | 品牌大全 | 品牌排行 | 品牌问答 | 品牌资讯 | 品牌价值 | 关于我们 | 联系我们 | 免责声明

Copyright 2013-2020 品牌门户,牌子123(www.paizi123.cn) 版权所有 备案号:苏ICP备13009020号-7

网站地图