专利状态
一种具有PET防雾面罩片的医用隔离罩
专利申请进度
申请
2021-08-23
授权
2022-02-18
预估到期
2031-08-23
专利基础信息
申请号 申请日
授权公布号 授权公告日
分类号
分类
申请人名称 英科医疗科技股份有限公司
申请人地址
专利法律状态
  • 2022-02-18
    授权
    状态信息
    授权
摘要
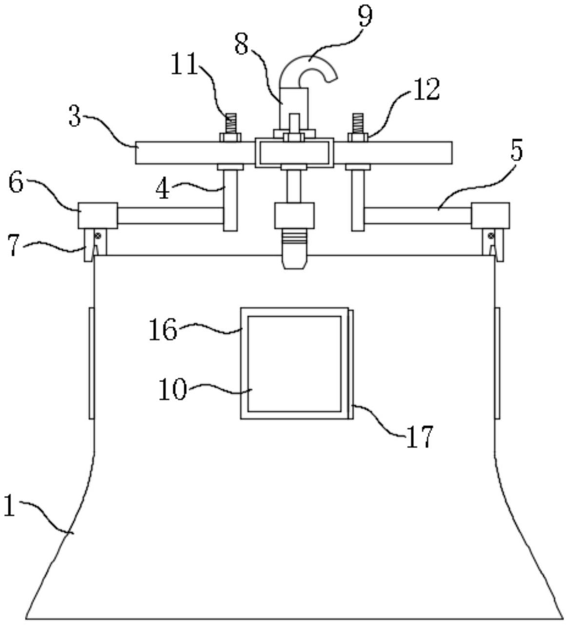
本实用新型公开了一种具有PET防雾面罩片的医用隔离罩,包括罩体和挂架,所述挂架上固定安装有调节座,所述调节座设置有四组,四组所述调节座呈十字形设置,所述调节座的下端滑动安装有竖杆,所述竖杆的一端固定连接有延长杆,所述延长杆的一端固定安装有安装块,所述安装块上设置有夹具,所述罩体的上端通过夹具与调节座可拆卸连接,所述挂架的上端转动安装有转轴,所述转轴的上端固定安装有挂钩,所述罩体上嵌装有卡框,所述卡框内可拆卸安装有PET防雾片。本实用新型便于调节罩体的舒展宽度,从而调节隔离罩内的空间大小,便于转动,具有PET防雾面罩片作为观察窗口,同时便于拆卸清理。

返回首页 | 品牌大全 | 品牌排行 | 品牌问答 | 品牌资讯 | 品牌价值 | 关于我们 | 联系我们 | 免责声明

Copyright 2013-2020 品牌门户,牌子123(www.paizi123.cn) 版权所有 备案号:苏ICP备13009020号-7

网站地图