专利状态
一种防冻阀
专利申请进度
申请
2023-07-13
授权
2023-12-26
预估到期
2033-07-13
专利基础信息
申请号 申请日
授权公布号 授权公告日
分类号
分类
申请人名称 浙江华龙巨水科技股份有限公司
申请人地址
专利法律状态
  • 2023-12-26
    授权
    状态信息
    授权
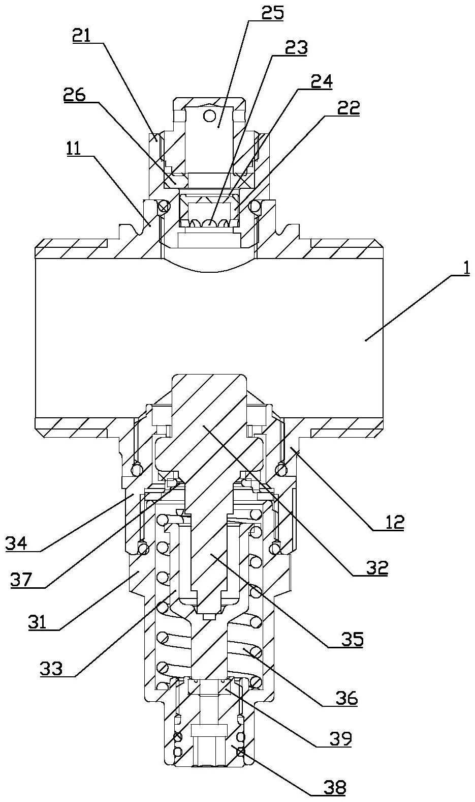
摘要
本实用新型属于阀门的技术领域,涉及一种防冻阀,包括与管道连接的阀体,所述阀体上设置有上接口和下接口,所述上接口连接有真空破坏器,所述下接口连接有防冻组件,所述防冻组件包括防冻接管,所述防冻接管内滑移设置有温包驱动的支撑套杆,所述支撑套杆向上移动时打开防冻组件内的液体流道,向下移动时关闭防冻组件内的液体流道。本实用新型提供的防冻阀,具有结构简单,感温精准,安全性高的优点。

返回首页 | 品牌大全 | 品牌排行 | 品牌问答 | 品牌资讯 | 品牌价值 | 关于我们 | 联系我们 | 免责声明

Copyright 2013-2020 品牌门户,牌子123(www.paizi123.cn) 版权所有 备案号:苏ICP备13009020号-7

网站地图