专利状态
一种磁吸过滤球阀
专利申请进度
申请
2021-12-01
授权
2022-04-19
预估到期
2031-12-01
专利基础信息
申请号 申请日
授权公布号 授权公告日
分类号
分类
申请人名称 浙江华龙巨水科技股份有限公司
申请人地址
专利法律状态
  • 2022-04-19
    授权
    状态信息
    授权
摘要
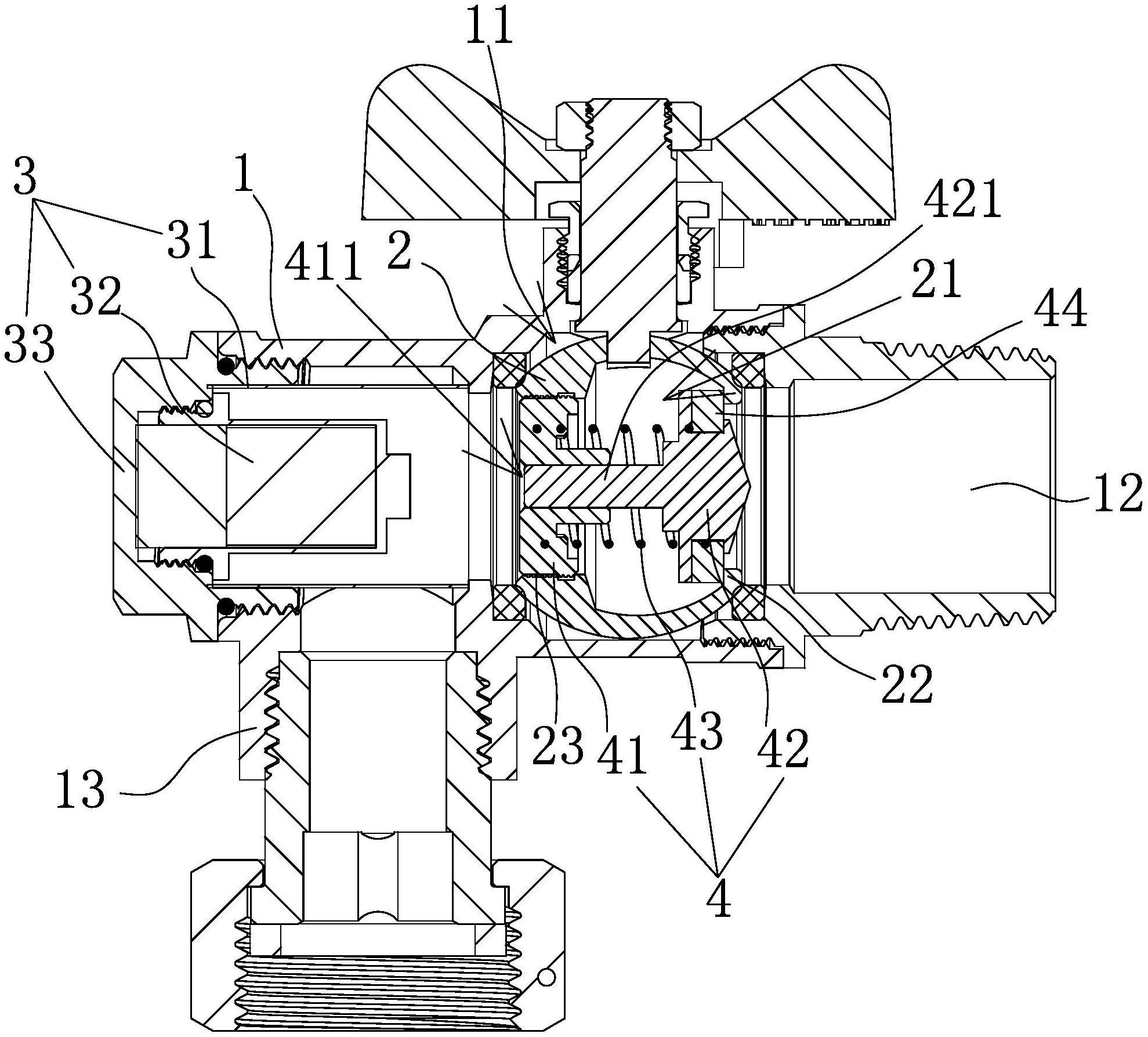
本实用新型提供了一种磁吸过滤球阀,属于阀门技术领域。它解决了现有的球阀因为功能多样导致体积较大的问题。本磁吸过滤球阀包括阀体和球阀芯,阀体内设有过滤组件,球阀芯的中心孔内侧固定有止回阀芯组件。本球阀具有过滤和止回两种功能,但是本球阀利用了球阀芯的中心孔,将具有止回功能的止回阀芯组件集成到了球阀芯的中心孔内,只需要安装球阀芯即可使得球阀带有止回功能,本设计在球阀上加装了止回阀芯组件之后阀体的整体结构没有太大变化保持小巧的体积。

返回首页 | 品牌大全 | 品牌排行 | 品牌问答 | 品牌资讯 | 品牌价值 | 关于我们 | 联系我们 | 免责声明

Copyright 2013-2020 品牌门户,牌子123(www.paizi123.cn) 版权所有 备案号:苏ICP备13009020号-7

网站地图