专利状态
一种低温发酵罐搅拌装置顶部安装结构
专利申请进度
申请
2017-07-03
授权
2018-05-08
预估到期
2027-07-03
专利基础信息
申请号 申请日
授权公布号 授权公告日
分类号
分类
申请人名称 东君乳业(禹城)有限公司
申请人地址
专利法律状态
  • 2018-05-08
    授权
    状态信息
    授权
摘要
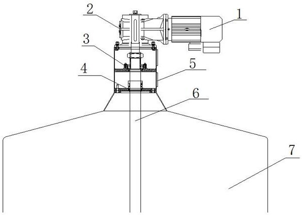
本实用新型公开了一种低温发酵罐搅拌装置顶部安装结构,包括罐体、通心搅拌轴、减速机,所述减速机位于罐体外部顶端,所述罐体上部设置密封连接区,所述密封连接区与罐体相互独立,所述密封连接区包括轴承、密封件、搅拌支架,所述轴承、密封件安装于所述搅拌支架上,所述通心搅拌轴穿过所述密封件、轴承与减速机连接。与现有技术相比,能够最大程度的降低产品污染,避免卫生死角的形成,同时降低搅拌轴发生故障的几率,采用改进后的安装结构,极大的增强了产品质量,降低了生产成本。

返回首页 | 品牌大全 | 品牌排行 | 品牌问答 | 品牌资讯 | 品牌价值 | 关于我们 | 联系我们 | 免责声明

Copyright 2013-2020 品牌门户,牌子123(www.paizi123.cn) 版权所有 备案号:苏ICP备13009020号-7

网站地图