专利状态
一种酸奶生产用的搅拌装置
专利申请进度
申请
2023-03-16
授权
2023-07-21
预估到期
2033-03-16
专利基础信息
申请号 申请日
授权公布号 授权公告日
分类号
分类
申请人名称 东君乳业(禹城)有限公司
申请人地址
专利法律状态
  • 2023-07-21
    授权
    状态信息
    授权
摘要
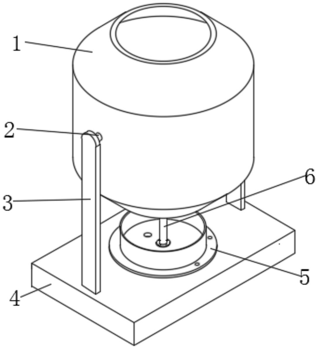
本实用新型公开了一种酸奶生产用的搅拌装置,涉及搅拌装置领域。包括设备底座,设备底座上固定安装有定位支架,定位支架上活动安装有活动轴,活动轴末端连接有搅拌罐体,搅拌罐体底部的设备底座上固定安装有收集机构,收集机构包括收集槽体、排水口、进水口、安装底座和安装螺孔,安装底座固定安装于设备底座上表面,安装底座边缘处开设有安装螺孔,安装底座上固定安装有收集槽体,收集槽体中间位置开设有进水口,收集槽体底部位于进水口一侧开设有排水口,收集槽体中间位置固定安装有清洗机构。净水输送到定位管道中之后通过清洗喷头喷出,净水通过清洗喷头喷出之后可以上下移动活动管道,从而对搅拌罐体进行全面的清洗。

返回首页 | 品牌大全 | 品牌排行 | 品牌问答 | 品牌资讯 | 品牌价值 | 关于我们 | 联系我们 | 免责声明

Copyright 2013-2020 品牌门户,牌子123(www.paizi123.cn) 版权所有 备案号:苏ICP备13009020号-7

网站地图