专利状态
一种废胶条收集装置
专利申请进度
申请
2017-09-29
授权
2018-05-18
预估到期
2027-09-29
专利基础信息
申请号 申请日
授权公布号 授权公告日
分类号
分类
申请人名称 东君乳业(禹城)有限公司
申请人地址
专利法律状态
  • 2018-05-18
    授权
    状态信息
    授权
摘要
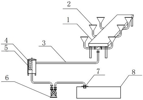
本实用新型公开了一种废胶条收集装置,包括胶条投放口、传送管道、收集缸、真空泵,所述胶条投放口为若干个,置于传送带两侧,所述胶条投放口连接传送管道,所述传送管道连接收集缸,所述收集缸连接真空泵,所述收集缸内部设有滤网。本实用新型的有益效果是:真空泵提供了足够的吸力能有效地将投放口处的废胶条吸进收集缸中,并在收集缸中被滤网过滤,做到了废胶条的自动收集,减少包装人员的劳动量,最大程度的保持包装车间的整洁和美观;整体结构简单,收集效果好,操作方便,解决了废胶条在车间清理难得问题。

返回首页 | 品牌大全 | 品牌排行 | 品牌问答 | 品牌资讯 | 品牌价值 | 关于我们 | 联系我们 | 免责声明

Copyright 2013-2020 品牌门户,牌子123(www.paizi123.cn) 版权所有 备案号:苏ICP备13009020号-7

网站地图