专利状态
一种发酵罐通气装置
专利申请进度
申请
2017-07-03
授权
2018-05-08
预估到期
2027-07-03
专利基础信息
申请号 申请日
授权公布号 授权公告日
分类号
分类
申请人名称 东君乳业(禹城)有限公司
申请人地址
专利法律状态
  • 2018-05-08
    授权
    状态信息
    授权
摘要
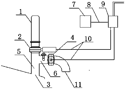
本实用新型公开了一种发酵罐通气装置,安装于发酵罐通气孔上,包括无菌过滤器、第一气动蝶阀、第二气动蝶阀、呼吸支路、控制电磁阀、电磁气动阀控制器;所述无菌过滤器与第一气动蝶阀相连接,通过竖直管道连接所述发酵罐通气孔,所述竖直管道一侧设有呼吸支路,所述呼吸支路上设有第二气动蝶阀;所述控制电磁阀通过导线连接并控制所述电磁气动阀控制器,所述电磁气动控制阀控制第一气动蝶阀和第二气动蝶阀。本实用新型的有益效果是:整体结构简单,透气效果好,操作方便,能够解决清洗过程出现发酵罐变形的难题,延长发酵罐的使用寿命。

返回首页 | 品牌大全 | 品牌排行 | 品牌问答 | 品牌资讯 | 品牌价值 | 关于我们 | 联系我们 | 免责声明

Copyright 2013-2020 品牌门户,牌子123(www.paizi123.cn) 版权所有 备案号:苏ICP备13009020号-7

网站地图