专利状态
一种奶制品吹塑瓶口切割装置
专利申请进度
申请
2019-01-25
授权
2020-01-21
预估到期
2029-01-25
专利基础信息
申请号 申请日
授权公布号 授权公告日
分类号
分类
申请人名称 东君乳业(禹城)有限公司
申请人地址
专利法律状态
  • 2020-01-21
    授权
    状态信息
    授权
摘要
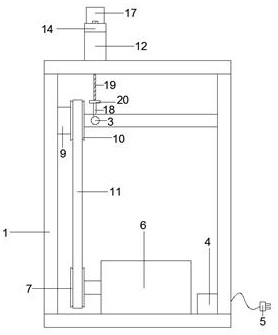
本实用新型涉及一种奶制品吹塑瓶口切割装置,属于吹塑瓶口切割技术领域,包括框架,通过将电源插头连接市电,固定架上端与下端均开有螺纹孔,使固定架在框架上可以左右移动,横板在固定架上可以前后移动,实现裁切刀可调节前后左右的距离,增加本实用新型的适用性,套筒、轴承和皮带盘中间是中空结构,使得瓶子可以填充进其中空结构中,当填入瓶子时,红外线感应器感应到瓶子,通过电路控制器控制气缸和电机启动,气缸的伸缩杆带动裁切刀下降,电机带动瓶子旋转,当裁切刀接触的旋转的瓶子时,对瓶口进行切割,当切割完成后,取出瓶子,红外线感应器感应不到物体,关闭气缸与电机,实现方便填塞下一个需要加工的瓶子。

返回首页 | 品牌大全 | 品牌排行 | 品牌问答 | 品牌资讯 | 品牌价值 | 关于我们 | 联系我们 | 免责声明

Copyright 2013-2020 品牌门户,牌子123(www.paizi123.cn) 版权所有 备案号:苏ICP备13009020号-7

网站地图