专利状态
用于管式杀菌机的加热装置
专利申请进度
申请
2022-02-23
授权
2022-11-04
预估到期
2032-02-23
专利基础信息
申请号 申请日
授权公布号 授权公告日
分类号
分类
申请人名称 东君乳业(禹城)有限公司
申请人地址
专利法律状态
  • 2022-11-04
    授权
    状态信息
    授权
摘要
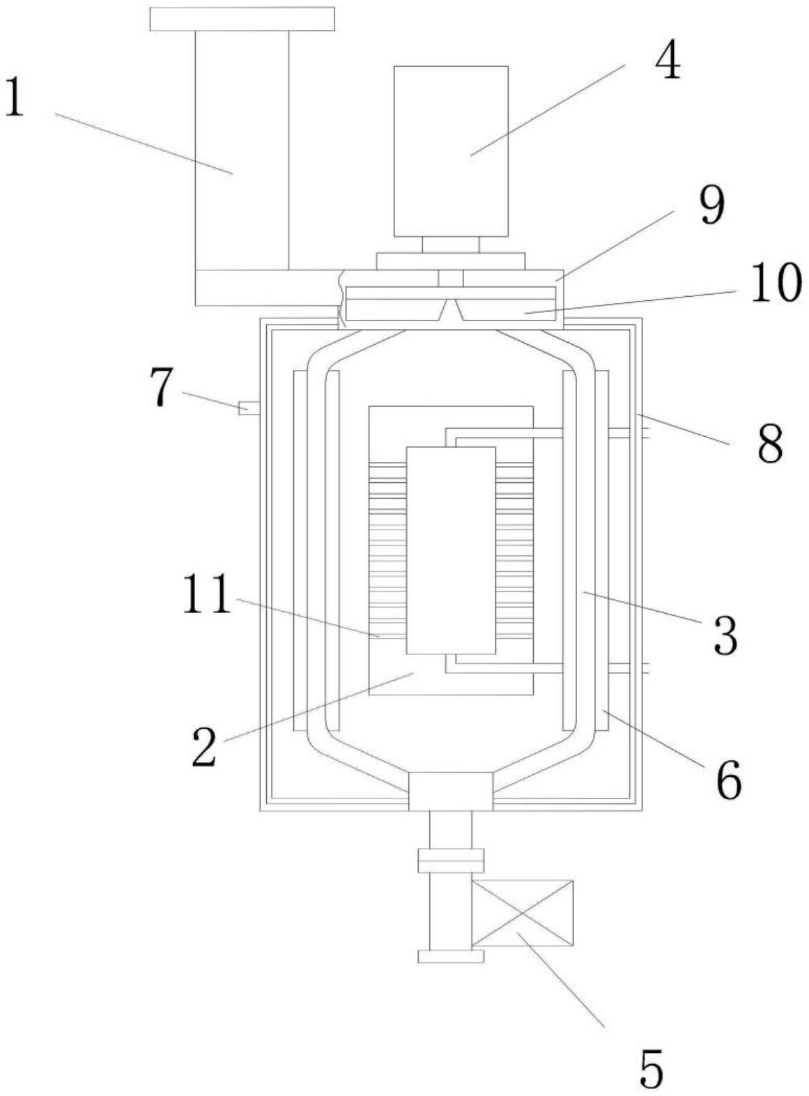
用于管式杀菌机的加热装置,包括输送管、蒸汽箱、其特征在于所述输送管中部分散为分支管,分支管形成牢笼结构,蒸汽箱设置在分支管中部,所述输送管的上端设有搅拌电机,输送管底端设有抽吸泵,所述输送管的分支管管壁端面设有吸热片,输送管的外围设有保护外壳,保护外壳设有恒压阀,所述蒸汽箱的上下侧端设有循环管,本方案通过将输送管分支来分解一根输送管的压力,并且将输送管的分支管的直径小于总输送管的直径,将蒸汽消毒装置设置在分支管的牢笼中部,使分支管可以均匀受热,在分支管的外壁设置吸热板来增加吸热效率。

返回首页 | 品牌大全 | 品牌排行 | 品牌问答 | 品牌资讯 | 品牌价值 | 关于我们 | 联系我们 | 免责声明

Copyright 2013-2020 品牌门户,牌子123(www.paizi123.cn) 版权所有 备案号:苏ICP备13009020号-7

网站地图