专利状态
一种节能型铝盖密封性检测设备
专利申请进度
申请
2023-05-18
授权
2024-03-19
预估到期
2033-05-18
专利基础信息
申请号 申请日
授权公布号 授权公告日
分类号
分类
申请人名称 广州珠江美乐多饮品(香港)有限公司
申请人地址
专利法律状态
  • 2024-03-19
    授权
    状态信息
    授权
摘要
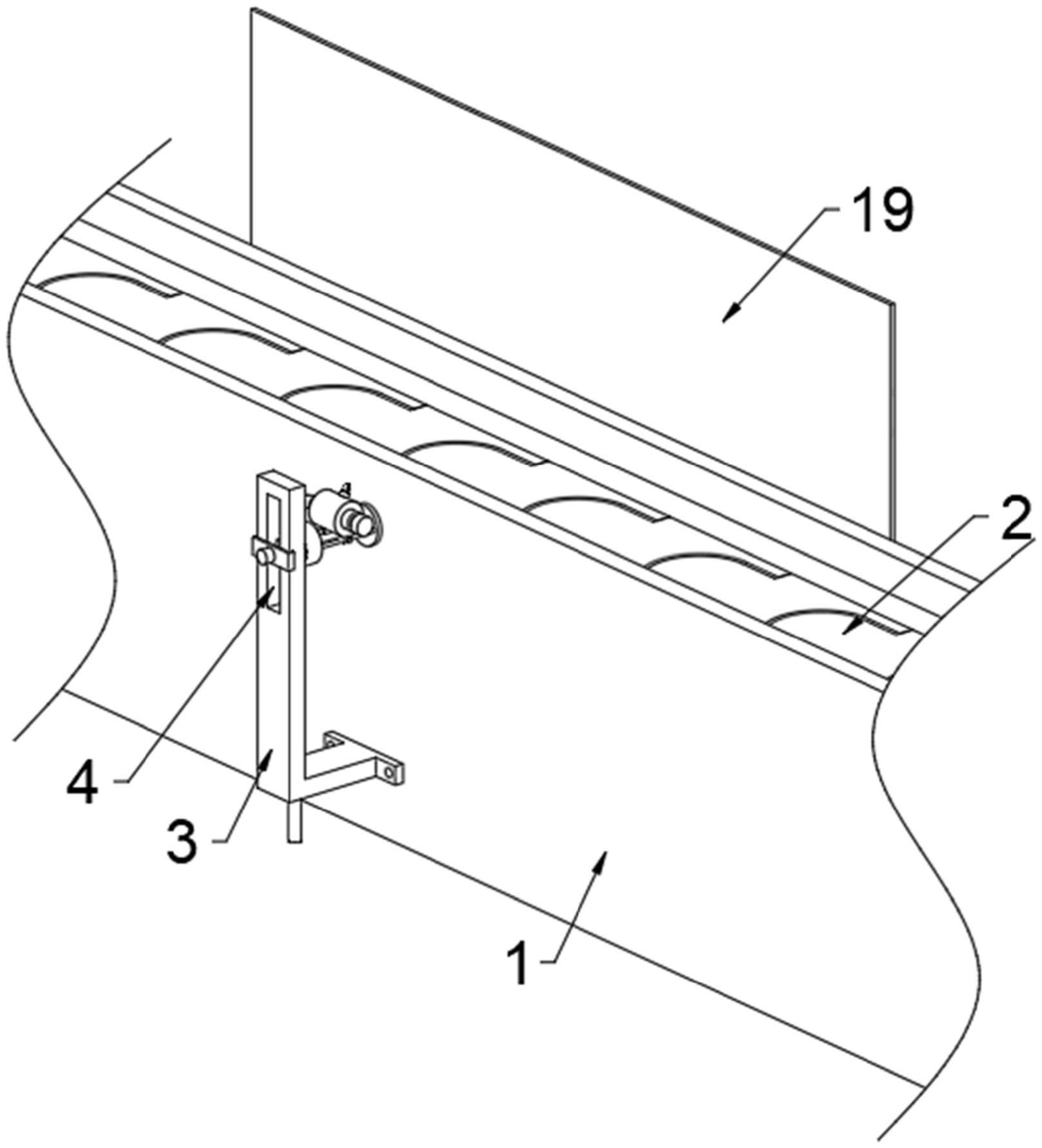
本实用新型公开了一种节能型铝盖密封性检测设备,包括传送机以及设置在所述传送机上端内部的传送固定带,所述传送固定带由多个活动件组成,且能对产品进行固定,并能对产品进行传送,所述传送机前端通过螺栓固定连接有连接支架,所述连接支架前端上侧内部前后贯穿有调高孔,通过在传送机和传送固定带前侧设置定向高压喷头,并通过调压旋钮和高压管提供和控制高压气体,使得定向高压喷头能对产品与铝盖之间的粘合效果进行检测,实现全自动全覆盖检测,通过在连接支架与定向高压喷头之间设置前调角盘、后调节座和调距滑轨,让定向高压喷头能进行高度和角度的调节,使得定向高压喷头能对产品与铝盖的不同粘合位置进行检测。

返回首页 | 品牌大全 | 品牌排行 | 品牌问答 | 品牌资讯 | 品牌价值 | 关于我们 | 联系我们 | 免责声明

Copyright 2013-2020 品牌门户,牌子123(www.paizi123.cn) 版权所有 备案号:苏ICP备13009020号-7

网站地图